- Partiron
- OEM Parts
- Yamaha
- side-by-side
- 2009
- YXR7FSEYR (RHINO 700 FI SPECIAL EDITION) 5B4W0 2009
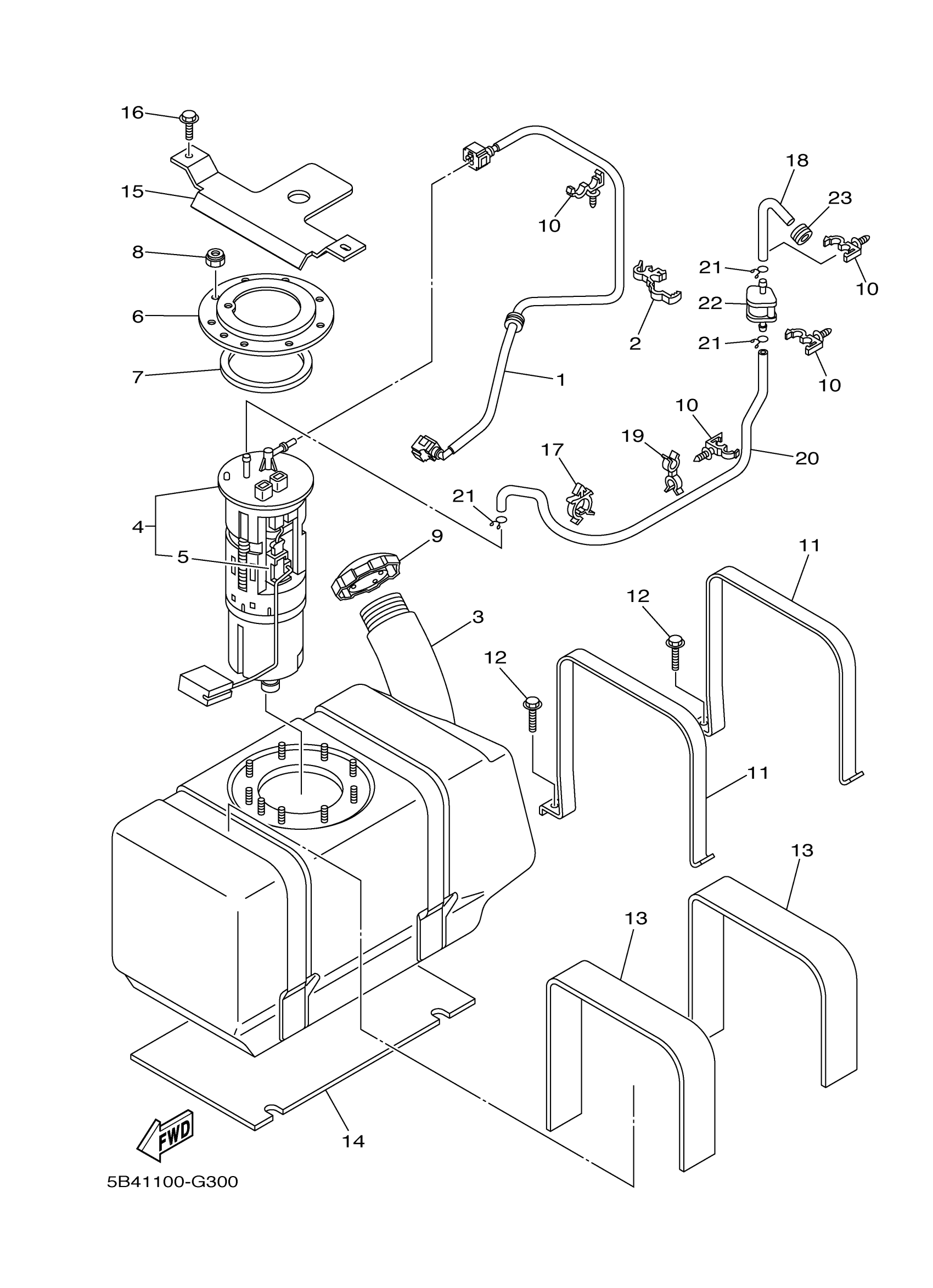
FUEL TANK
Yamaha YXR7FSEYR (RHINO 700 FI SPECIAL EDITION) 5B4W0 2009 FUEL TANK Diagram
#
Description
Price
3
FUEL TANK
5B4-F4110-00-00
Unavailable
5
SENDER ASSY
5B4-85701-00-00
Unavailable
6
RING
5B4-U7773-00-00
Unavailable
9
CAP ASSY
BVG-24610-00-00
Unavailable
15
DAMPER, SIDE COVER
5B4-F4145-00-00
Unavailable
16
BOLT, FLANGE
90105-08867-00
Unavailable
18
PIPE 2
5B4-F4312-00-00
Unavailable
19
CLAMP(2YK)
90464-13103-00
Unavailable
21
CLIP
90467-100A1-00
Unavailable
22
PIPE JOINT ASSY
3B4-24380-11-00
Unavailable
23
GROMMET (1E6)
90480-15058-00
Unavailable
