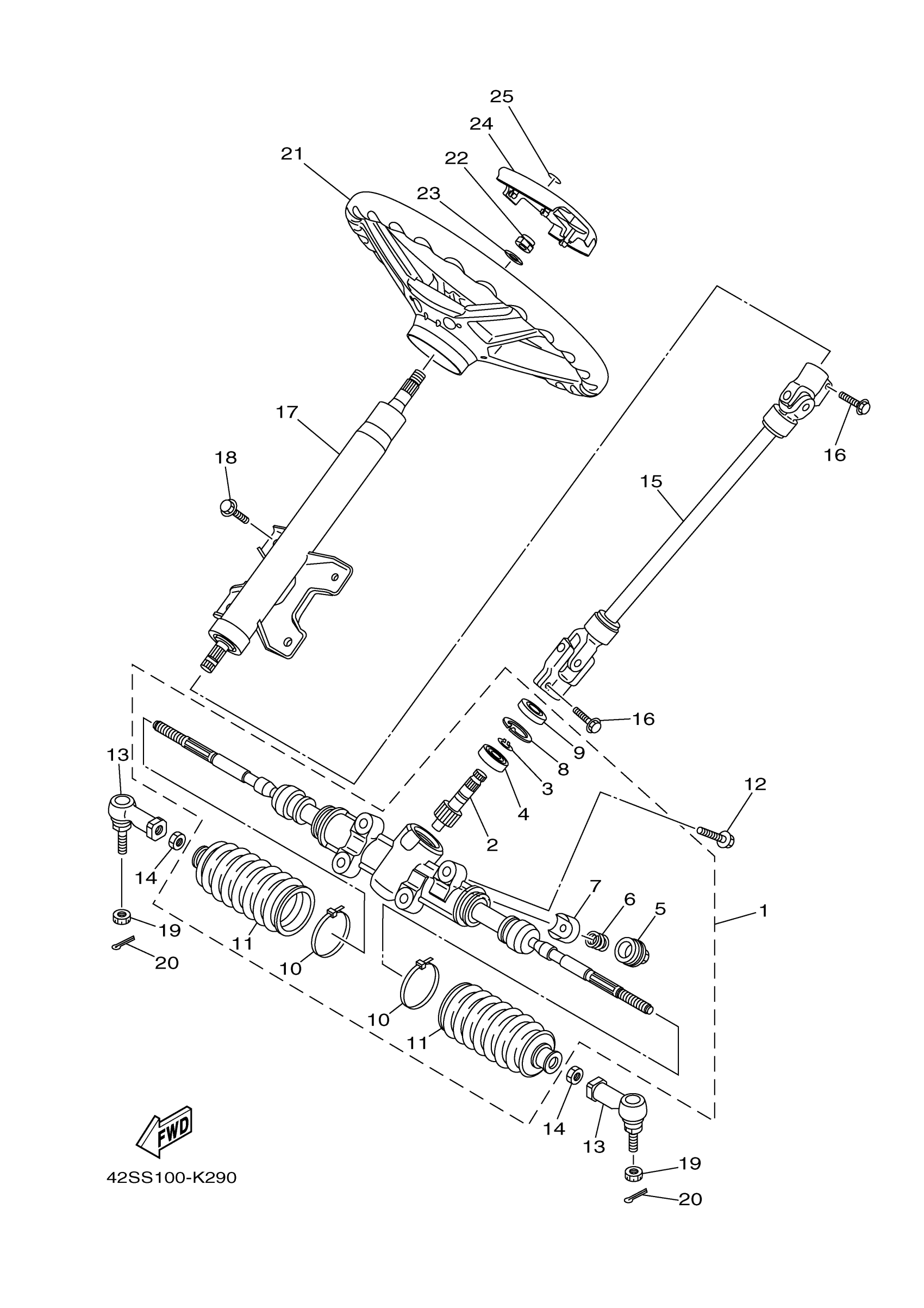
Yamaha YXR7FHD (700 HUNTER 1RBJ) 1RBJ 2013 STEERING Diagram
#
Description
Price
2
. GEAR, STEERING DRIVE
5UG-F3863-00-00
Unavailable
3
. CIRCLIP
5UG-F3183-00-00
Unavailable
10
BAND
5UG-F3489-00-00
Unavailable
14
NUT 1
1P0-F3833-00-00
Unavailable
16
BOLT, FLANGE
95022-08025-00
Unavailable
17
COLUMN, STEERING
5UG-F3811-10-00
Unavailable
18
BOLT, FLANGE
95812-08020-00
Unavailable
19
NUT, CASTLE
90171-12001-00
Unavailable
20
PIN, COTTER
91490-20025-00
Unavailable
21
STEERING WHEEL KIT
2HC-F3838-09-00
Unavailable
22
NUT, SELF-LOCKING
90185-12008-00
Unavailable
23
YBS66-12 WASHER,PLAIN
92990-12200-00
Unavailable
24
COVER, STEERING
16B-F3818-00-00
Unavailable
25
TUNING FORK MARK
16B-F175B-10-00
Unavailable
