Yamaha YXR7FHB (RHINO 700 HUNTER EDITION) 1RB6 2012 CARRIER Diagram
#
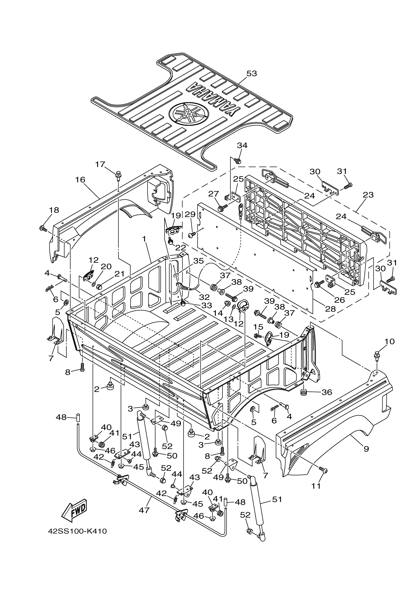
1
CARRIER BOX ASSY
2P5-F4850-02-00
Unavailable
7
GUARD, LEVER
2P5-F6123-00-00
Unavailable
9
PANEL, REAR FENDER 3
5UG-K8193-M0-00
Unavailable
13
WASHER, SPRING
92995-06100-00
Unavailable
16
PANEL, REAR FENDER 4
5UG-K8194-M0-00
Unavailable
20
WASHER, SPRING
92995-06100-00
Unavailable
23
REAR STORAGE LID C
5UG-K810N-21-00
Unavailable
24
LATCH
5UG-F389E-00-00
Unavailable
25
BRACKET,TRUNK STOP
5UG-F849R-00-00
Unavailable
26
BOLT, FLANGE
95817-06025-00
Unavailable
27
BOLT, FLANGE
95817-06025-00
Unavailable
28
. CASE
5UG-K8365-00-00
Unavailable
29
SCREW, TAPPING(53L)
90167-05030-00
Unavailable
30
COVER, HINGE
5UG-F4669-00-00
Unavailable
31
SCREW, TAPPING(53L)
90167-05030-00
Unavailable
32
HOLDER, CABLE
5UG-K7195-10-00
Unavailable
33
BOLT
90109-06212-00
Unavailable
34
BOLT
90109-06212-00
Unavailable
35
YBS66-6 WASHER, PLAIN
92990-06200-00
Unavailable
36
GROMMET(2GH)
90480-12475-00
Unavailable
37
GROMMET (4V1)
90480-18290-00
Unavailable
38
COLLAR (36R)
90387-066J1-00
Unavailable
39
BOLT, FLANGE
95817-06025-00
Unavailable
40
HOLDER, LATCH
2P5-K7175-00-00
Unavailable
41
GROMMET(2GH)
90480-12475-00
Unavailable
42
SPRING, TENSION(3JN)
90506-16451-00
Unavailable
43
PLATE 1
2P5-K7185-00-00
Unavailable
44
BUSH, RUBBER 1
2P5-K7515-00-00
Unavailable
45
NUT,FLANGE(J10)
95702-08500-00
Unavailable
46
NUT, FLANGE
95702-06500-00
Unavailable
47
LATCH ASSY
2P5-K7180-00-00
Unavailable
48
CAP, PROTECTOR END 4
5UG-K818M-00-00
Unavailable
49
BRACKET, DAMPER
5UG-F1798-11-00
Unavailable
50
BOLT, FLANGE
90105-06831-00
Unavailable
51
DAMPER 1
5UG-F8415-00-00
Unavailable
52
NUT, SELF-LOCKING
95602-08200-00
Unavailable
53
MAT
5UG-F483J-00-00
Unavailable
