- Partiron
- OEM Parts
- Yamaha
- side-by-side
- 2011
- YXR7FHA (RHINO 700 HUNTER) 42SM 2011
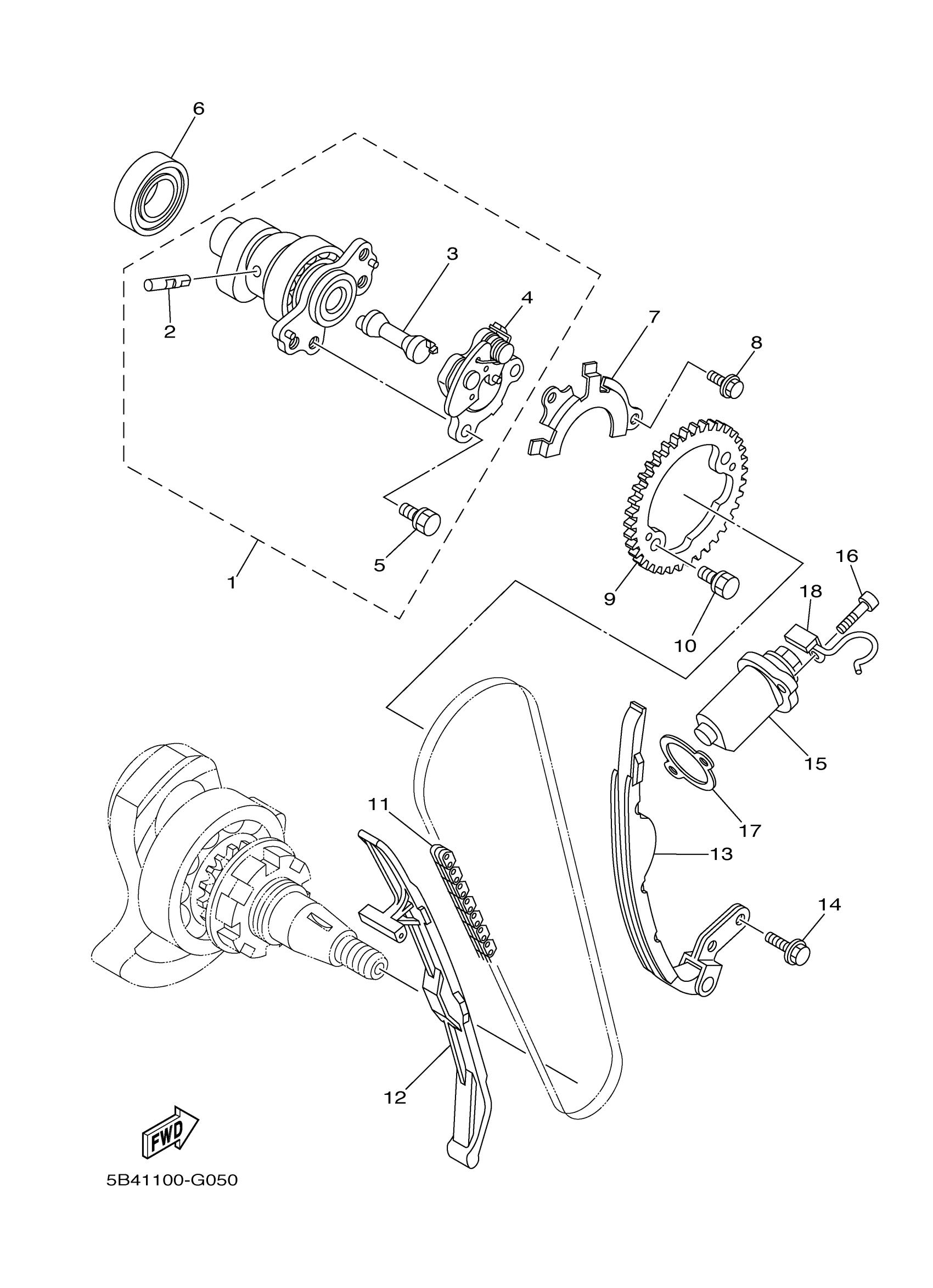
CAMSHAFT CHAIN
Yamaha YXR7FHA (RHINO 700 HUNTER) 42SM 2011 CAMSHAFT CHAIN Diagram
#
Description
Price
1
CAMSHAFT ASSY 1
5B4-12170-00-00
Unavailable
16
BOLT,SOCKET
91317-06025-00
Unavailable
17
GASKET, TENSIONER CASE
4DW-12213-00-00
Unavailable
18
HOLDER
5B4-13898-00-00
Unavailable
