- Partiron
- OEM Parts
- Yamaha
- side-by-side
- 2008
- YXR70FDUX (RHINO 700 FI DUCKS UNLIMTED) 5B48 2008
FUEL TANK
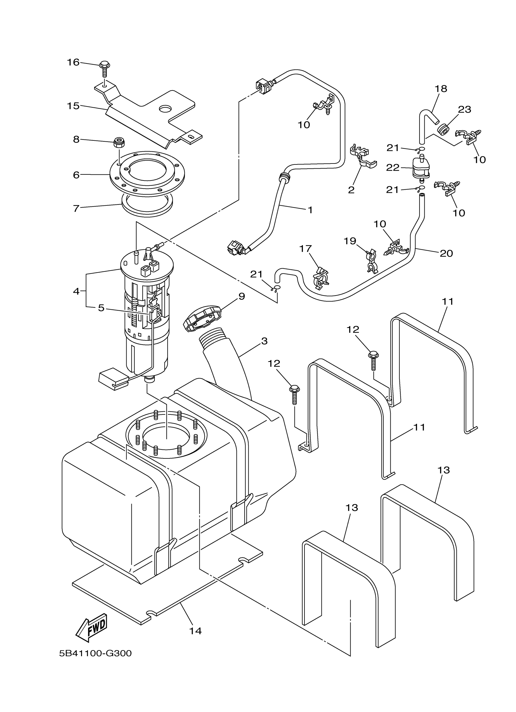
Yamaha YXR70FDUX (RHINO 700 FI DUCKS UNLIMTED) 5B48 2008 FUEL TANK Diagram
#
Description
Price
3
FUEL TANK
5B4-F4110-00-00
Unavailable
5
SENDER ASSY
5B4-85701-00-00
Unavailable
6
RING
5B4-U7773-00-00
Unavailable
7
PACKING, SEAL
F1B-67747-00-00
Unavailable
9
CAP ASSY
BVG-24610-00-00
Unavailable
11
STAY, FUEL TANK 1
5B4-F4157-00-00
Unavailable
15
DAMPER, SIDE COVER
5B4-F4145-00-00
Unavailable
16
BOLT, FLANGE
90105-08867-00
Unavailable
17
CLAMP
90464-25826-00
Unavailable
18
PIPE 2
5B4-F4312-00-00
Unavailable
19
CLAMP(2YK)
90464-13103-00
Unavailable
20
PIPE 4
5B4-F4314-00-00
Unavailable
21
CLIP
90467-100A1-00
Unavailable
22
PIPE JOINT ASSY
3B4-24380-11-00
Unavailable
23
GROMMET (1E6)
90480-15058-00
Unavailable
