- Partiron
- OEM Parts
- Yamaha
- side-by-side
- 2007
- YXR66FHW (RHINO 660 HUNTER - HARDWOODS HD CAMO) 5UGR 2007
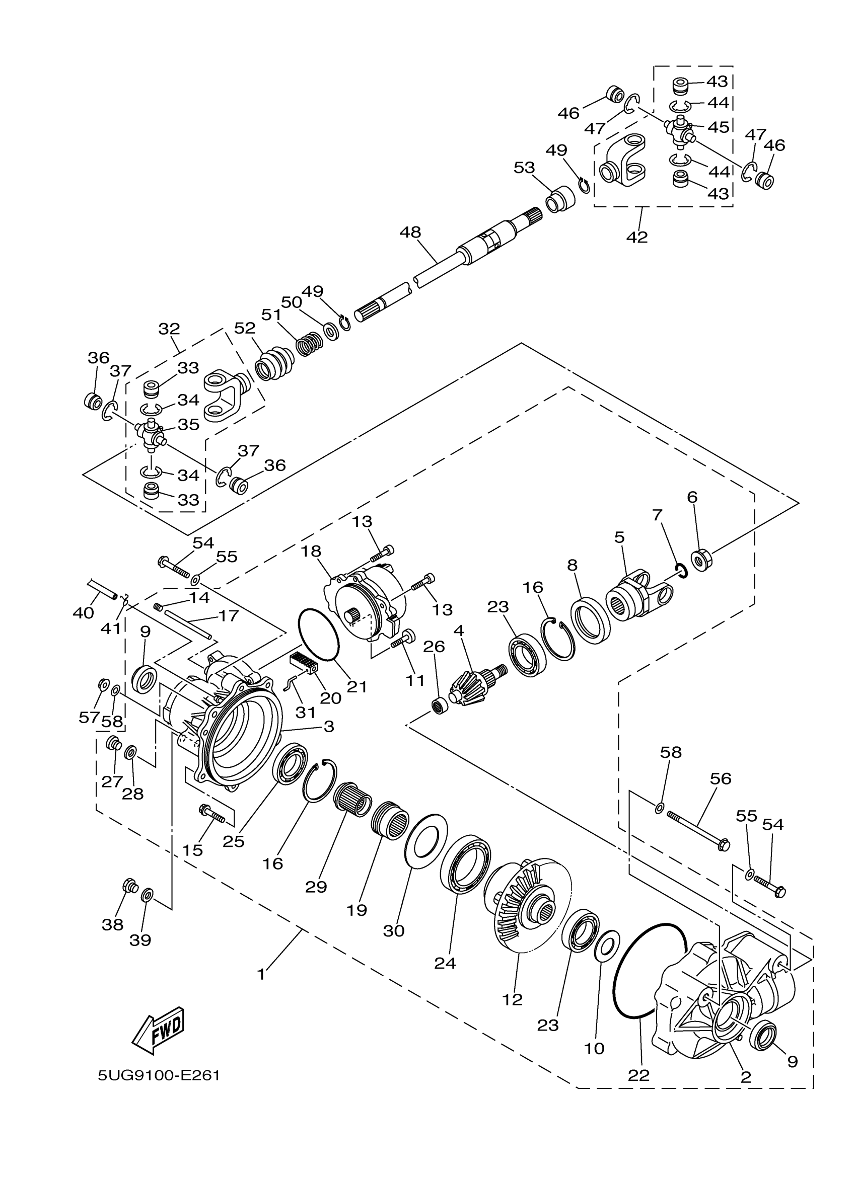
FRONT DIFFERENTIAL
Yamaha YXR66FHW (RHINO 660 HUNTER - HARDWOODS HD CAMO) 5UGR 2007 FRONT DIFFERENTIAL Diagram
#
1
FRONT AXLE GEAR CASE COMP.
5UG-46160-12-00
Unavailable
2
HOUSING, SHAFT DRIVE 2
5UG-46161-00-00
Unavailable
3
HOUSING, BEARING 2
5UG-46162-00-00
Unavailable
4
PINION, DRIVE 2
5KM-46141-13-00
Unavailable
10
SHIM, THRUST
4WV-46119-51-00
Unavailable
11
BOLT 1
5KM-46155-00-00
Unavailable
12
LIMITED SLIP DIFF. ASSY
5KM-46470-13-00
Unavailable
13
BOLT, SOCKET
91317-08020-00
Unavailable
14
BOLT, SET
90113-08004-00
Unavailable
15
BOLT 3
4WV-46159-00-00
Unavailable
16
RING,HOLE SNAP 2
5KM-46143-00-00
Unavailable
17
SHAFT
5KM-42752-00-00
Unavailable
18
SERVO MOTOR COMP
5KM-4616A-02-00
Unavailable
19
CLUTCH,DRIVEN
5KM-46441-00-00
Unavailable
20
. SHAFT 2
5KM-18319-00-00
Unavailable
21
O-RING
93210-82001-00
Unavailable
22
O-RING
93211-40040-00
Unavailable
23
BEARING
93306-00709-00
Unavailable
24
BRG,R-B 6912 85MM 189G NK
93306-91201-00
Unavailable
25
BEARING
93316-00702-00
Unavailable
26
BEARING 4
4WV-46167-00-00
Unavailable
27
PLUG, STRIGHT SCREW(5GH1)
90340-10001-00
Unavailable
28
GASKET
90430-10003-00
Unavailable
29
ADAPTER
5KM-46451-00-00
Unavailable
30
SHIM, THRUST
5KM-46119-01-00
Unavailable
30
SHIM, THRUST
5KM-46119-11-00
Unavailable
30
SHIM, THRUST
5KM-46119-21-00
Unavailable
30
SHIM, THRUST
5KM-46119-31-00
Unavailable
30
SHIM, THRUST
5KM-46119-41-00
Unavailable
30
SHIM, THRUST
5KM-46119-51-00
Unavailable
30
SHIM, THRUST
5KM-46119-61-00
Unavailable
31
FORK, SHIFT 4
5KM-18514-00-00
Unavailable
32
CROSS JOINT COMP. 2
5KM-46107-00-00
Unavailable
33
BEARING
93399-99948-00
Unavailable
34
CIRCLIP (4X7)
93440-20088-00
Unavailable
35
SPIDER
5GT-46187-00-00
Unavailable
36
BEARING
93399-99948-00
Unavailable
37
CIRCLIP (4X7)
93440-20088-00
Unavailable
38
PLUG, STRAIGHT(2E9)
90340-14029-00
Unavailable
39
GASKET
214-11198-01-00
Unavailable
40
HOSE (L1700)
90445-070G6-00
Unavailable
41
CLIP (1J7)
90467-07029-00
Unavailable
42
CROSS JOINT COMP. 2
5KM-46107-00-00
Unavailable
43
BEARING
93399-99948-00
Unavailable
44
CIRCLIP (4X7)
93440-20088-00
Unavailable
45
SPIDER
5GT-46187-00-00
Unavailable
46
BEARING
93399-99948-00
Unavailable
47
CIRCLIP (4X7)
93440-20088-00
Unavailable
48
SHAFT, DRIVE 2
5UG-46173-00-00
Unavailable
49
CIRCLIP(1EY)
99009-19400-00
Unavailable
50
WASHER PLATE 132172160000
90201-20266-00
Unavailable
51
SPRING, COMPRESSION
90501-235L9-00
Unavailable
52
SEAL 1
5GT-46136-00-00
Unavailable
53
SEAL 2
5GT-46137-00-00
Unavailable
54
BOLT, FLANGE
95817-10030-00
Unavailable
55
WASHER, PLATE(47X)
90201-101J1-00
Unavailable
56
BOLT, FLANGE
90105-10N51-00
Unavailable
57
NUT, SELF-LOCKING(JN5)
95607-10200-00
Unavailable
58
WASHER, PLATE(47X)
90201-101J1-00
Unavailable
