- Partiron
- OEM Parts
- Yamaha
- side-by-side
- 2007
- YXR66FDUW (RHINO 660 DUCKS UNLIMITED EDITION) 5UGU 2007
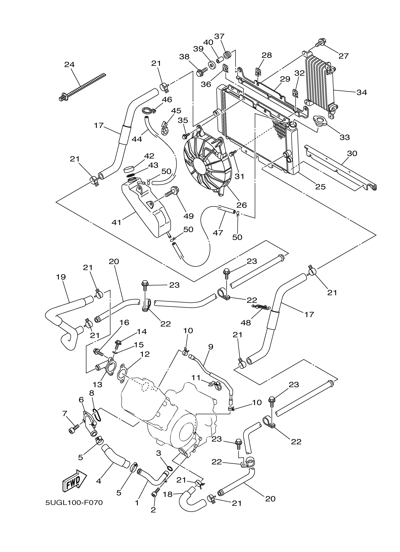
RADIATOR HOSE
Yamaha YXR66FDUW (RHINO 660 DUCKS UNLIMITED EDITION) 5UGU 2007 RADIATOR HOSE Diagram
#
7
BOLT,SOCKET
91317-06020-00
Unavailable
9
HOSE 4
5KM-12579-00-00
Unavailable
11
CLAMP
90462-08008-00
Unavailable
13
COVER, THERMOSTAT
5UG-12413-00-00
Unavailable
14
PLUG, WATER CHECK (383)
90338-06041-00
Unavailable
15
GASKET 256113960000
90430-06014-00
Unavailable
16
. BOLT, FLANGE
95027-06020-00
Unavailable
17
HOSE 1
5UG-E2576-00-00
Unavailable
18
HOSE 2
5UG-E2577-00-00
Unavailable
19
HOSE,4
5UG-E2579-01-00
Unavailable
20
PIPE, WATER
5UG-E2564-00-00
Unavailable
21
CLIP
90467-26189-00
Unavailable
22
CLAMP
90461-12800-00
Unavailable
23
BOLT, FLANGE
90105-06831-00
Unavailable
24
CLAMP
90464-20005-00
Unavailable
25
RADIATOR ASSY
5UG-E2461-00-00
Unavailable
26
BLOWER ASSY
5UG-E2405-00-00
Unavailable
27
BOLT, BLOWER HOLDI
5ND-E2675-00-00
Unavailable
28
PLATE
5ND-E2535-00-00
Unavailable
29
BRACKET 1
5UG-E244E-01-00
Unavailable
30
BRACKET 2
5UG-E244F-00-00
Unavailable
31
BOLT
5UG-E2623-00-00
Unavailable
32
PLATE
5ND-E2535-00-00
Unavailable
33
CAP, RADIATOR
5ND-E2462-00-00
Unavailable
34
OIL COOLER ASSY
5UG-E3470-00-00
Unavailable
35
BOLT, BLOWER HOLDI
5ND-E2675-00-00
Unavailable
36
PLATE
5ND-E2535-00-00
Unavailable
37
GROMMET(2GH)
90480-12475-00
Unavailable
38
BOLT, FLANGE
90105-06833-00
Unavailable
39
WASHER
90209-06012-00
Unavailable
40
COLLAR
90387-06113-00
Unavailable
41
TANK, RECOVERY
5GS-21871-00-00
Unavailable
42
CAP
26H-21875-00-00
Unavailable
43
GASKET
26H-21874-00-00
Unavailable
44
HOSE
90445-08811-00
Unavailable
45
CLAMP
90464-12830-00
Unavailable
46
CLAMP
90464-19815-00
Unavailable
47
HOSE
90445-08809-00
Unavailable
48
CLAMP(3XV)
90464-29179-00
Unavailable
49
BOLT, SPECIAL 1
JW1-K6179-01-00
Unavailable
50
CLIP 101235600
90467-08003-00
Unavailable
