- Partiron
- OEM Parts
- Yamaha
- side-by-side
- 2006
- YXR66FAHV (RHINO 660 4WD HUNTER) 5UGF 2006
REAR MASTER CYLINDER
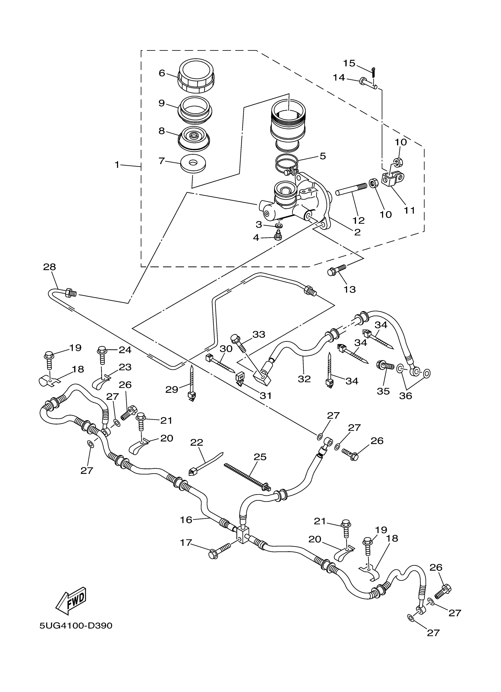
Yamaha YXR66FAHV (RHINO 660 4WD HUNTER) 5UGF 2006 REAR MASTER CYLINDER Diagram
#
Description
Price
3
WASHER, OIL BOLT
5UG-25878-00-00
Unavailable
12
PUSH ROD COMP.
5UG-25880-00-00
Unavailable
16
HOSE,BRAKE 1
5UG-F5872-03-00
Unavailable
17
BOLT, FLANGE
95817-06025-00
Unavailable
18
HOLDER, BRAKE HOSE
5ND-F5875-01-00
Unavailable
19
BOLT, FLANGE
95817-06012-00
Unavailable
20
BAND
5UG-F3192-00-00
Unavailable
21
BOLT, FLANGE
95817-06016-00
Unavailable
22
CLAMP(JN6)
90464-31827-00
Unavailable
23
BAND
5UG-F3192-00-00
Unavailable
24
BOLT, FLANGE
95817-06016-00
Unavailable
25
CLAMP
90464-20005-00
Unavailable
26
BOLT, UNION(3GM)
90401-10159-00
Unavailable
27
WASHER, PLATE(481)
90201-10118-00
Unavailable
28
PIPE, BRAKE
5UG-F5871-00-00
Unavailable
29
CLAMP
90464-20005-00
Unavailable
30
CLAMP(JN6)
90464-31827-00
Unavailable
31
HOLDER
5UG-F2465-00-00
Unavailable
32
HOSE,BRAKE 2
5UG-F5873-10-00
Unavailable
33
BOLT, FLANGE
90105-06833-00
Unavailable
34
CLAMP
90464-20005-00
Unavailable
35
BOLT, UNION(3GM)
90401-10159-00
Unavailable
36
WASHER, PLATE(481)
90201-10118-00
Unavailable
