- Partiron
- OEM Parts
- Yamaha
- side-by-side
- 2005
- YXR660FAT (RHINO) 5UG4 2005
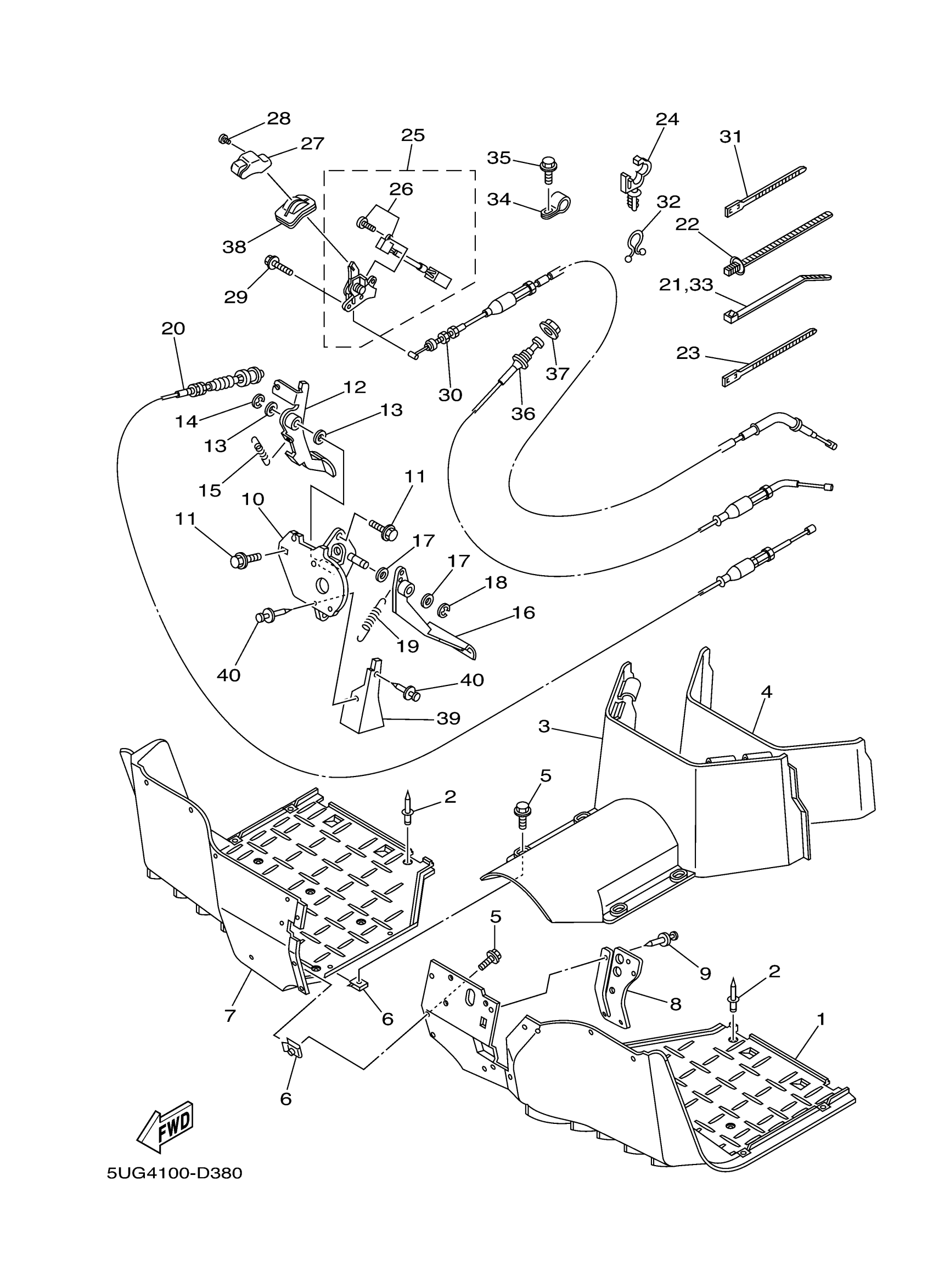
STAND FOOTREST
Yamaha YXR660FAT (RHINO) 5UG4 2005 STAND FOOTREST Diagram
#
1
FOOTREST 1
5UG-F7411-12-00
Unavailable
2
RIVET, BLIND
90267-48820-00
Unavailable
3
COVER, FOOTREST
5UG-F7413-00-00
Unavailable
4
SEAL 2
5UG-F8228-01-00
Unavailable
8
COVER, DUST
5UG-F7286-00-00
Unavailable
10
BRACKET,PEDL SUPRT
5UG-F2548-01-00
Unavailable
12
ACCEL PEDAL ASSY
5UG-F7801-00-00
Unavailable
16
PEDAL, BRAKE
5UG-F7200-00-00
Unavailable
20
CABLE, THROTTLE 1
5UG-26311-10-00
Unavailable
21
CLAMP
90464-76800-00
Unavailable
22
CLAMP
90464-20005-00
Unavailable
23
CLAMP(JN6)
90464-40825-00
Unavailable
24
CLAMP
90464-12830-00
Unavailable
25
PARKING BRAKE COMP.
5UG-F5970-00-00
Unavailable
26
. SWITCH COMP
5UG-H251S-00-00
Unavailable
27
KNOB, PARKING LEVER
5UG-F5664-00-00
Unavailable
28
SCREW
5UG-F589H-00-00
Unavailable
29
BOLT, FLANGE
95817-06016-00
Unavailable
30
WIRE, BRAKE 1
5UG-26341-01-00
Unavailable
31
CLAMP(JN6)
90464-31827-00
Unavailable
32
CLAMP (3Y2)
90464-16039-00
Unavailable
33
CLAMP
90464-76800-00
Unavailable
34
CLAMP
90461-08802-00
Unavailable
35
BOLT, FLANGE
95817-06016-00
Unavailable
36
CABLE, STARTER 1
5UG-26331-00-00
Unavailable
37
NUT
JU0-F6333-00-00
Unavailable
38
COVER, HANDLE LEVER 1
5UG-F6372-00-00
Unavailable
39
PLATE, SPLASH
5UG-G5158-10-00
Unavailable
