Yamaha YXR660FAT (RHINO) 5UG4 2005 CARBURETOR Diagram
#
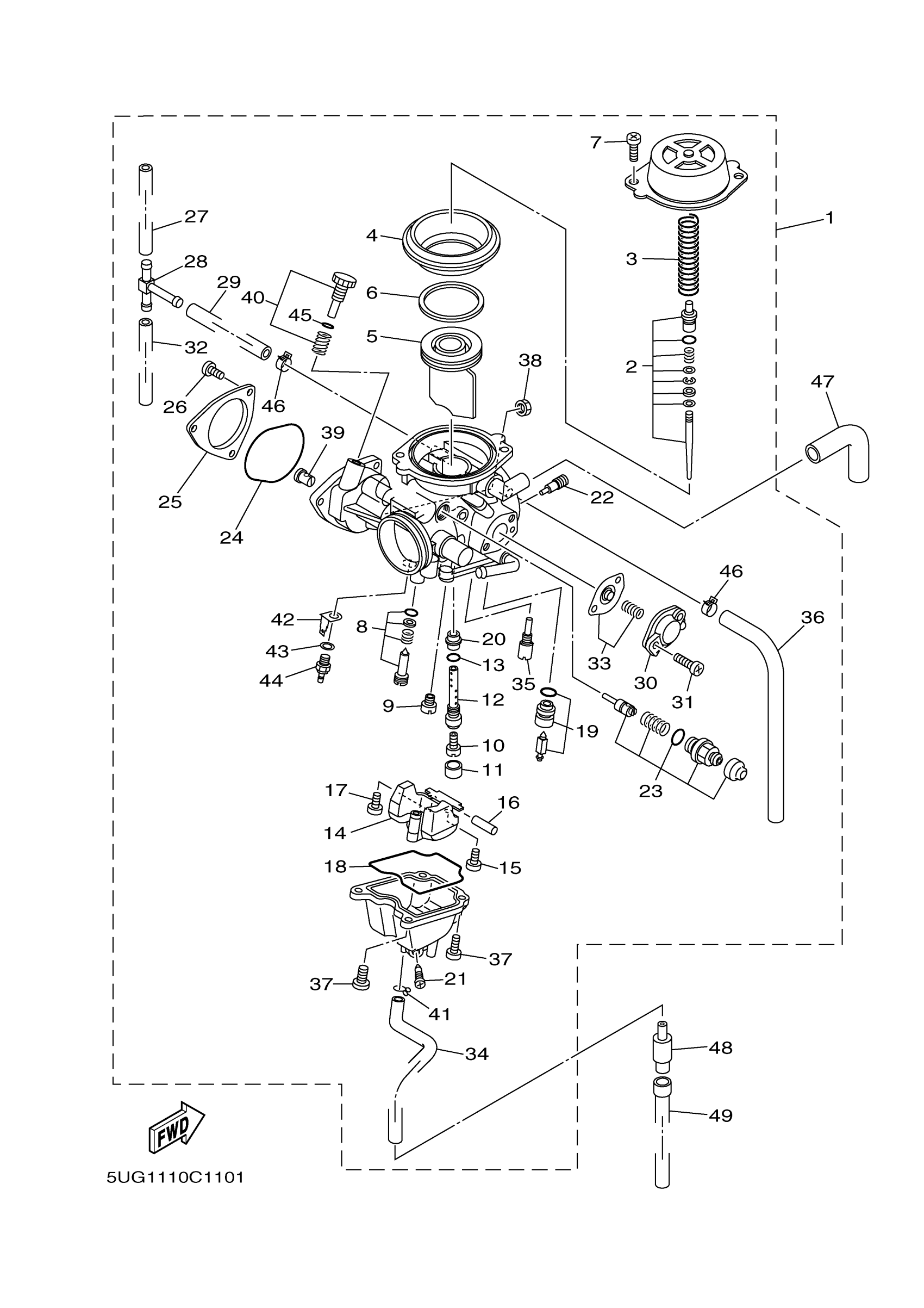
5
VALVE, THROTTLE
5KM-14912-00-00
Unavailable
11
RING
5GH-14918-00-00
Unavailable
12
HOLDER
5GH-14261-00-00
Unavailable
16
PIN, FLOAT
127-14186-00-00
Unavailable
17
SCREW
1FN-14565-00-00
Unavailable
18
O-RING
5DM-14561-00-00
Unavailable
19
NEEDLE VALVE ASSY
2C6-14190-23-00
Unavailable
20
NOZZLE, MAIN
5DM-1414M-30-00
Unavailable
21
PLUG, DRAIN
12R-14191-00-00
Unavailable
22
JET, MAIN (# 60)
1HX-14231-12-00
Unavailable
23
STARTER SET
5KM-1410A-00-00
Unavailable
24
O-RING
4WV-14147-10-00
Unavailable
25
COVER 1
5UG-14293-00-00
Unavailable
26
SCREW, PAN HEAD(3XP)
98517-04006-00
Unavailable
27
. PIPE
5GJ-14197-00-00
Unavailable
28
PIPE
28V-14988-00-00
Unavailable
29
. PIPE
3CF-14197-00-00
Unavailable
30
COVER, CARBURETOR
5AP-14280-00-00
Unavailable
31
SCREW,W/WASHER
97607-04114-00
Unavailable
32
PIPE
5KM-14197-10-00
Unavailable
33
DIAPHRAGM SET 5
5KM-1490H-00-00
Unavailable
34
PIPE
26H-14197-01-00
Unavailable
35
JET, PILOT (# 40)
4KM-14142-40-00
Unavailable
36
PIPE
5UG-14197-00-00
Unavailable
37
SCREW, PAN HEAD(6G8)
98507-04010-00
Unavailable
38
NUT, CABLE ADJUSTING
522-14161-00-00
Unavailable
39
GUIDE, CABLE
1UY-14155-00-00
Unavailable
40
. THROTTLE SCREW SET
5UG-14103-10-00
Unavailable
41
CLIP
55X-14937-00-00
Unavailable
42
TERMINAL 1
5FU-82103-00-00
Unavailable
43
WASHER, PLATE
90201-08016-00
Unavailable
44
HEATER ASSY
5FU-83790-00-00
Unavailable
45
O-RING, PILOT SCREW
2H0-14147-00-00
Unavailable
46
CLIP, PIPE
4BP-14139-01-00
Unavailable
47
PIPE
4WV-14349-00-00
Unavailable
48
PIPE 2,OVERFLOW
24W-14193-00-00
Unavailable
49
TUBE, FLEXIBLE(3NV)
91A21-07020-00
Unavailable
