Partiron

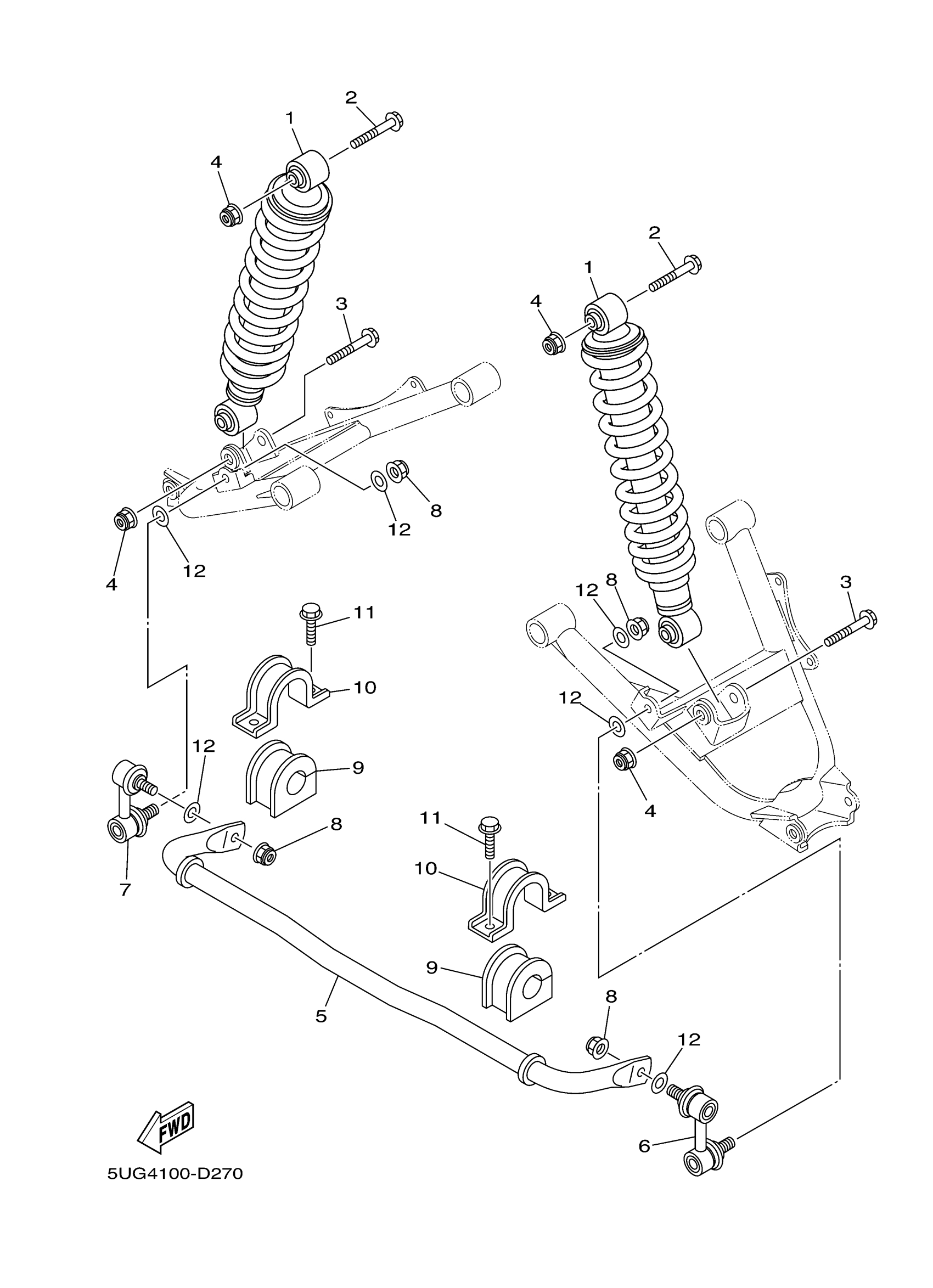
Yamaha YXR45FYR (RHINO 450) 2P5G0 2009 REAR SUSPENSION Diagram

#

Description
Price

1

SHOCK ABSORBER ASSY, REAR

5UG-F2210-11-00

Unavailable

2

BOLT, FLANGE

90105-12056-00

$9.32

3

BOLT, FLANGE

90105-12055-00

$10.20

4

NUT, SELF-LOCKING

90185-12009-00

$6.90

5

BAR, STABILIZER

5UG-G7491-00-00

Unavailable

6

JOINT, STABILIZER 1

16B-2385L-10-00

$60.76

7

JOINT, STABILIZER 2

16B-2385M-10-00

$61.68

8

NUT, SELF-LOCKING

90185-10012-00

$2.94

9

BUSH, STABILIZER F

1XD-F386G-00-00

Unavailable

10

COVER, STABILIZER FRONT

5UG-F386H-00-00

Unavailable

11

BOLT, FLANGE

95817-08014-00

$1.91

12

WASHER, PLATE

90201-10035-00

$3.40