- Partiron
- OEM Parts
- Yamaha
- side-by-side
- 2009
- YXR45FYR (RHINO 450) 2P5G0 2009
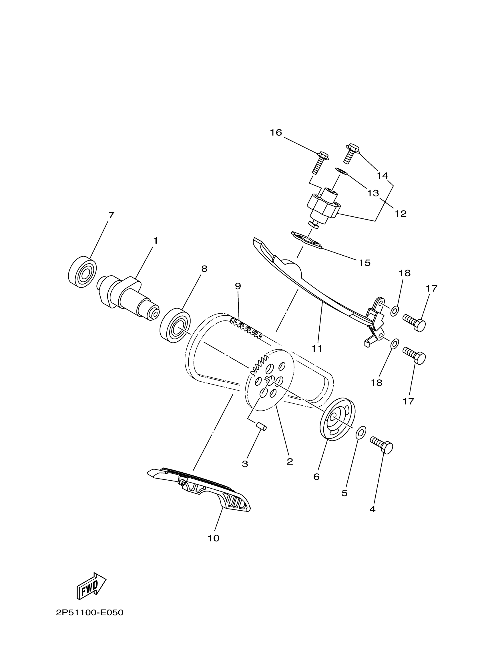
CAMSHAFT CHAIN
Yamaha YXR45FYR (RHINO 450) 2P5G0 2009 CAMSHAFT CHAIN Diagram
#
Description
Price
16
BOLT, FLANGE
95022-06025-00
Unavailable
17
BOLT, HEXAGON DEEP RECESS
97D95-06016-00
Unavailable
18
WASHER, PLAIN (646)
92990-06600-00
Unavailable
