- Partiron
- OEM Parts
- Yamaha
- side-by-side
- 2007
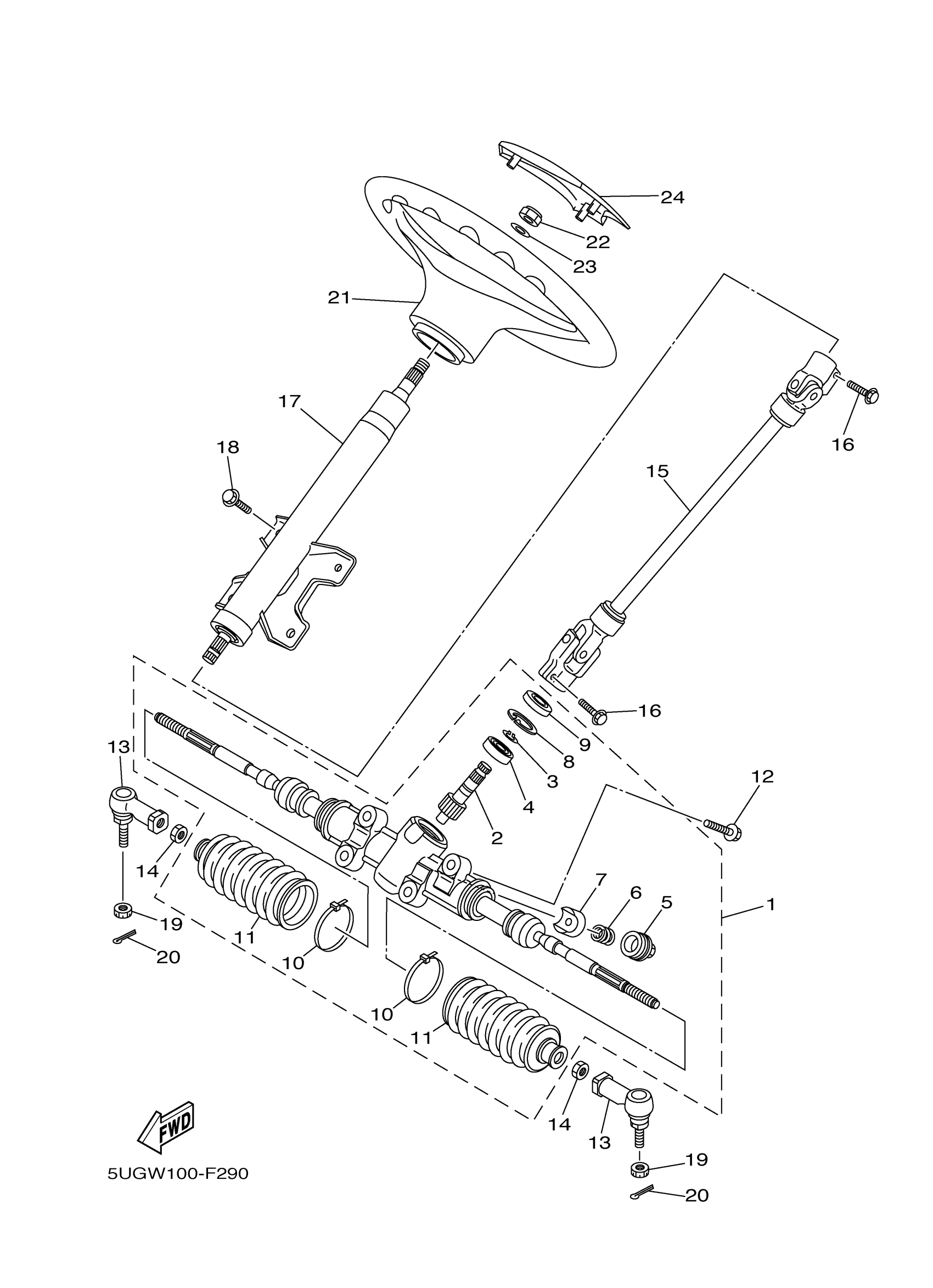
- YXR45FSEW (RHINO 450 SPECIAL EDITION) 2P56 2007
STEERING
Yamaha YXR45FSEW (RHINO 450 SPECIAL EDITION) 2P56 2007 STEERING Diagram
#
Description
Price
2
. GEAR, STEERING DRIVE
5UG-F3863-00-00
Unavailable
3
. CIRCLIP
5UG-F3183-00-00
Unavailable
10
BAND
5UG-F3489-00-00
Unavailable
14
NUT 1
1P0-F3833-00-00
Unavailable
16
BOLT, FLANGE(4MY)
95027-08025-00
Unavailable
17
COLUMN, STEERING
5UG-F3811-00-00
Unavailable
18
BOLT, FLANGE(JN5)
95817-08016-00
Unavailable
19
NUT, CASTLE(36R)
90171-12039-00
Unavailable
20
PIN, COTTER
91490-20025-00
Unavailable
21
WHEEL, STEERING
5UG-F3838-10-00
Unavailable
22
NUT, SELF LOCKING (23X)
90185-12119-00
Unavailable
23
WASHER(6TC)
92907-12200-00
Unavailable
24
COVER, STEERING
5UG-F3818-10-00
Unavailable
