Partiron

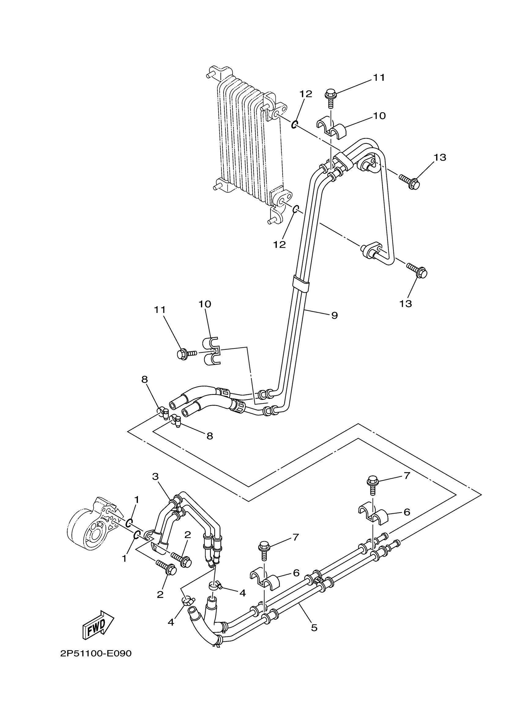
Yamaha YXR45FSEW (RHINO 450 SPECIAL EDITION) 2P56 2007 OIL PIPE Diagram

#

Description
Price

1

O-RING (371)

93210-10197-00

$7.49

2

BOLT(3MA)

91312-06016-00

$5.60

3

PIPE, OIL 1

2P5-13416-00-00

Unavailable

4

HOSE CLAMP ASSY(64X)

90450-22M14-00

$16.99

5

OIL PIPE COMP. 2

2P5-E3406-00-00

Unavailable

6

CLAMP

90462-15800-00

Unavailable

7

BOLT, FLANGE (SELF TAPPING)

90105-06832-00

$2.13

8

HOSE CLAMP ASSY(64X)

90450-22M14-00

$16.99

9

OIL PIPE COMP. 1

5UG-E3405-00-00

Unavailable

10

CLAMP

90462-15800-00

Unavailable

11

BOLT, FLANGE (SELF TAPPING)

90105-06832-00

$2.13

12

O-RING

93210-11M59-00

Unavailable

13

BOLT, FLANGE

95817-06020-00

$3.81