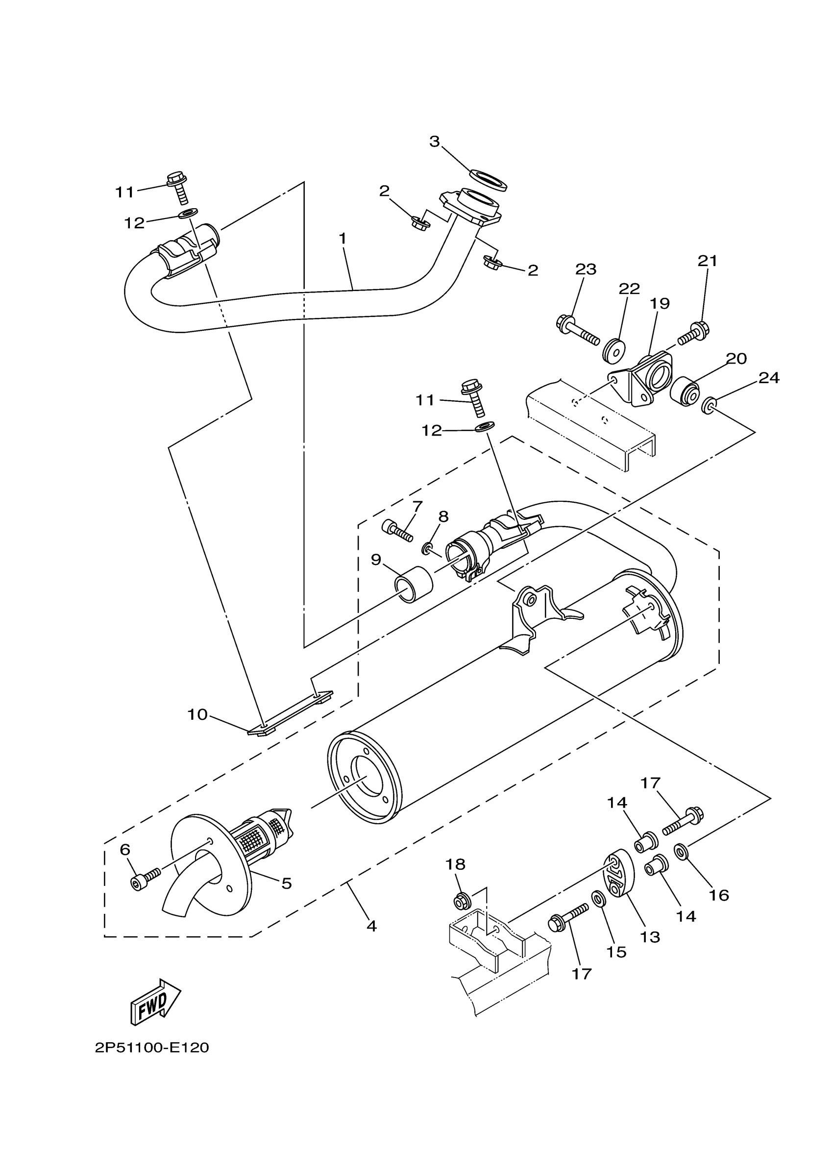
Yamaha YXR45FHX (RHINO 450 HUNTER) 2P5C 2008 EXHAUST Diagram
#
Description
Price
1
PIPE, EXHAUST 1
2P5-E4611-00-00
Unavailable
4
MUFFLER ASSY 1
2P5-E4710-00-00
Unavailable
10
STAY, EXHAUST PIPE 1
2P5-E4639-00-00
Unavailable
16
WASHER, PLATE
90201-05016-00
Unavailable
17
BOLT, FLANGE
95817-06035-00
Unavailable
18
NUT, FLANGE
95702-06500-00
Unavailable
19
MUFF STAY SUB-KUMI
5UG-F1440-00-00
Unavailable
20
DAMPER,FOOTREST
1HP-F7414-00-00
Unavailable
21
BOLT, FLANGE(JN5)
95817-08016-00
Unavailable
22
WASHER (29L)
90209-08249-00
Unavailable
23
BOLT, FLANGE
95817-08040-00
Unavailable
24
WASHER, PLATE
90201-07008-00
Unavailable
