- Partiron
- OEM Parts
- Yamaha
- side-by-side
- 2006
- YXR45FAHV (RHINO 450 REALTREE HD CAMO) 2P57 2006
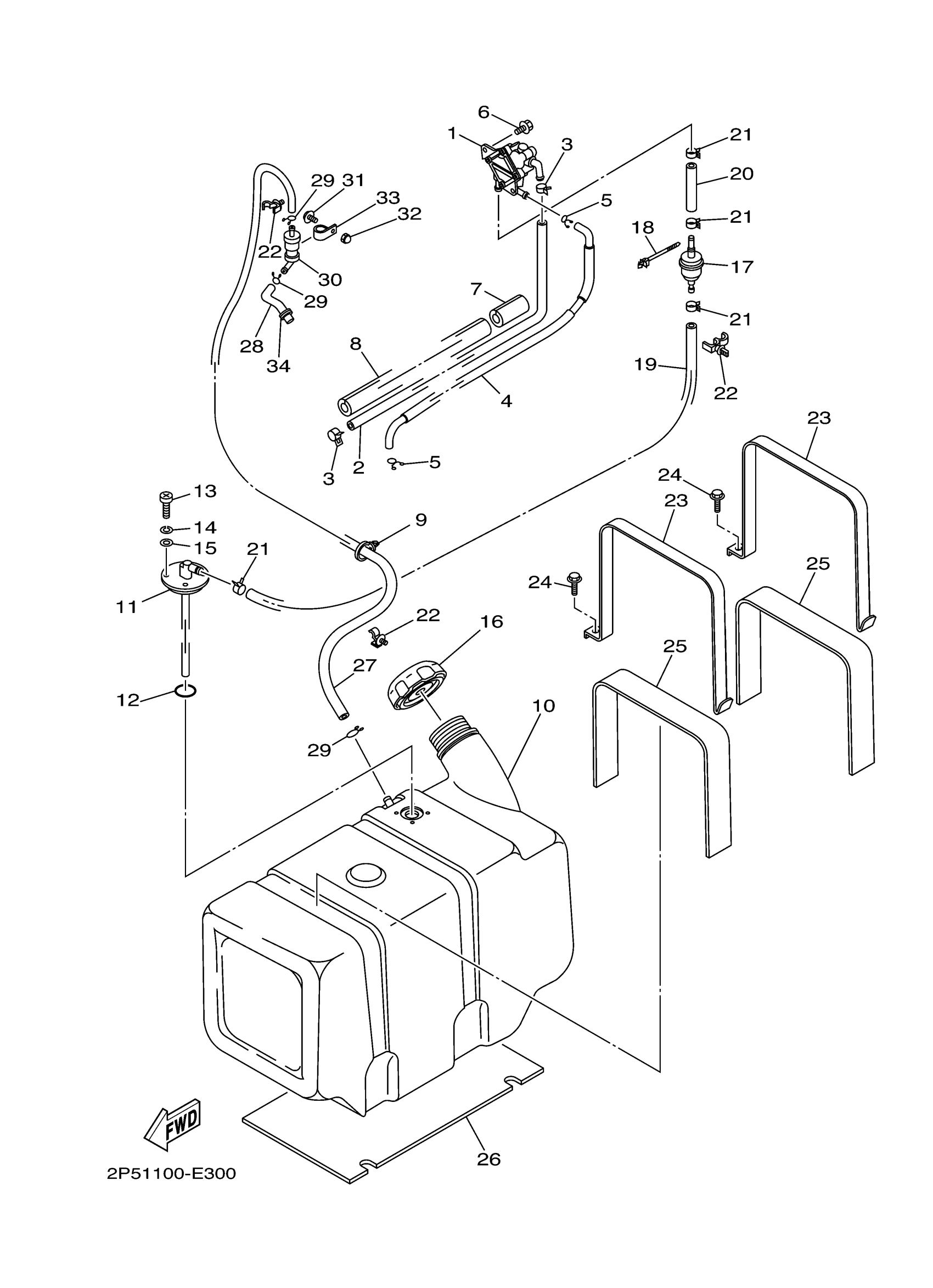
FUEL TANK
Yamaha YXR45FAHV (RHINO 450 REALTREE HD CAMO) 2P57 2006 FUEL TANK Diagram
#
Description
Price
2
PIPE, FUEL
2P5-E4295-10-00
Unavailable
4
HOSE, AIR
2P5-E3895-00-00
Unavailable
9
CLAMP
90464-25826-00
Unavailable
10
TANK, FUEL
5UG-F4111-01-00
Unavailable
11
FUEL PIPE JOINT
2P5-F4300-10-00
Unavailable
16
CAP ASSY
BVG-24610-00-00
Unavailable
17
FILTER ASSY
JN6-F4560-00-00
Unavailable
18
CLAMP
90464-38800-00
Unavailable
19
PIPE, FUEL 1
5UG-F4311-00-00
Unavailable
20
PIPE 3
5UG-F4313-00-00
Unavailable
22
CLAMP
90464-12830-00
Unavailable
23
STAY, FUEL TANK 1
5UG-F4157-00-00
Unavailable
24
BOLT, FLANGE
90105-08879-00
Unavailable
25
DAMPER, PLATE 1
5UG-F414H-00-00
Unavailable
26
DAMPER, PLATE 2
5UG-F414J-00-00
Unavailable
27
PIPE 4
5UG-F4314-00-00
Unavailable
28
PIPE 2
5UG-F4312-00-00
Unavailable
30
ROLL OVER VALVE ASSY
5RB-24180-00-00
Unavailable
31
SCREW, BINDING
98907-05010-00
Unavailable
32
NUT, CROWN(47X)
90176-05054-00
Unavailable
33
CLAMP
90464-15014-00
Unavailable
34
GROMMET (1E6)
90480-15058-00
Unavailable
