Yamaha YXP700AT (PRO HAULER 700) JW42 2005 CARBURETOR Diagram
#
Description
Price
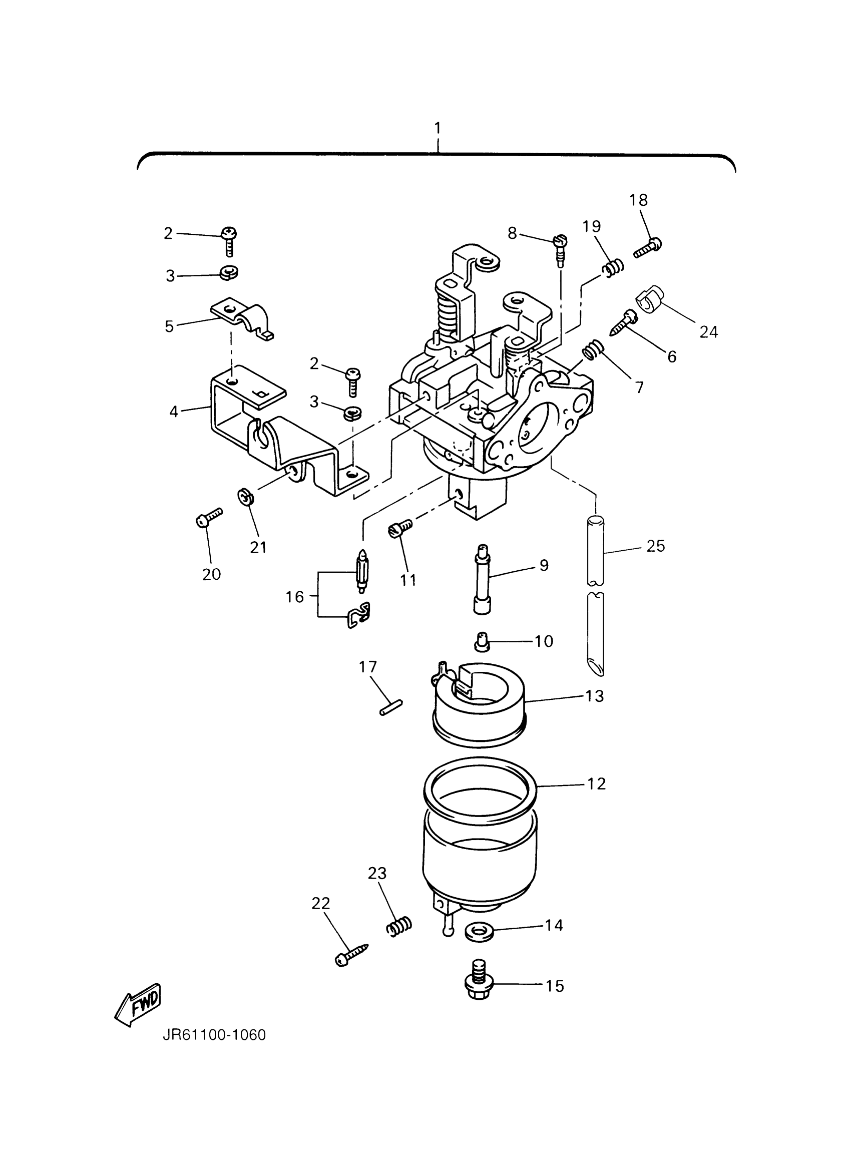
1
CARBURETOR ASSY 1
JR6-14101-03-00
Unavailable
4
. BRACKET 1
JN6-14291-00-00
Unavailable
5
. PLATE
J10-14227-00-00
Unavailable
8
. JET, PILOT (# 65)
732-14142-65-A0
Unavailable
9
. NOZZLE, MAIN
JN6-1495H-3B-00
Unavailable
11
JET,MAIN #82.5
3G2-1423A-67-00
Unavailable
11
. JET, MAIN (#838)
3G2-1423E-33-A0
Unavailable
14
GASKET
127-14198-00-00
Unavailable
15
. BOLT, HOLDING
7R1-14162-00-00
Unavailable
16
. NEEDLE ASSY (WITH CLIP)
JN5-14150-00-00
Unavailable
17
PIN, FLOAT
22F-14186-00-00
Unavailable
18
SCREW, THROTTLE
1WG-14922-00-00
Unavailable
20
SCREW, PAN HEAD(6G8)
98507-04010-00
Unavailable
21
YBS67-4 WASHER, SPRING
92990-04100-00
Unavailable
22
. PLUG, DRAIN
7E1-14191-00-00
Unavailable
23
SPRING, PILOT ADJUSTING
73A-14212-00-00
Unavailable
24
CAP
7LV-14118-00-00
Unavailable
25
. PIPE
1KT-14197-01-00
Unavailable
