Partiron

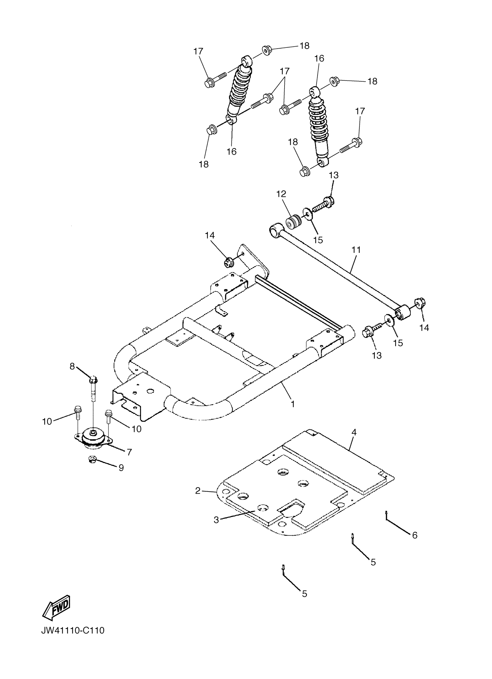
Yamaha YXP700AS (PRO HAULER 700) JW41 2004 REAR ARM SUSPENSION Diagram

#

Description
Price

1

REAR ARM COMP.

JU7-F2110-00-00

Unavailable

2

COVER, THRUST 1

JN6-F2128-01-00

Unavailable

3

PANEL, INNER 1

JN6-F211E-01-00

Unavailable

4

PANEL, INNER 2

JN6-F211G-01-00

Unavailable

5

RIVET, BLIND

90267-48850-00

Unavailable

6

RIVET, BLIND

90267-40851-00

Unavailable

7

BUSH 1

JN6-F2123-20-00

Unavailable

8

BOLT, FLANGE

90105-13800-00

Unavailable

9

NUT

90179-13800-00

Unavailable

10

BOLT, WITH WASHER

9751P-10620-00

Unavailable

11

ROD, CONN. ASSY

JN6-F2172-00-00

Unavailable

12

BUSH 2

JN6-F2124-10-00

Unavailable

13

BOLT, FLANGE(JN5)

95817-12065-00

Unavailable

14

NUT, SELF-LOCKING

95602-12200-00

$4.46

15

WASHER, PLATE

90201-128S4-00

$1.91

16

SHOCK ABSORBER ASSY, REAR

JU7-F2210-00-00

Unavailable

17

BOLT, FLANGE(87Y)

95817-10055-00

Unavailable

18

NUT, SELF-LOCKING(JN5)

95607-10200-00

Unavailable