- Partiron
- OEM Parts
- Yamaha
- side-by-side
- 2004
- YXP700AS (PRO HAULER 700) JW41 2004
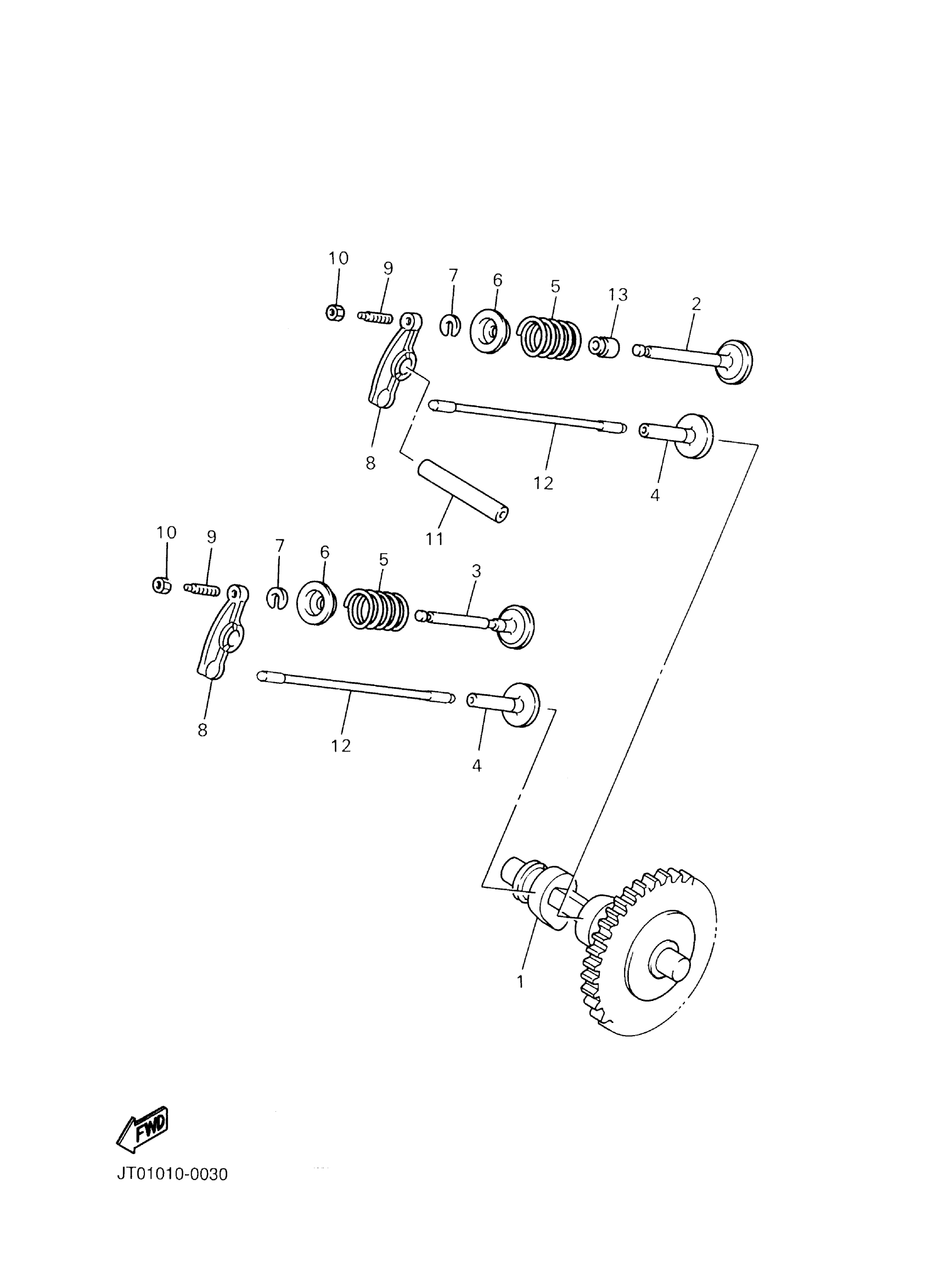
CAMSHAFT VALVE
Yamaha YXP700AS (PRO HAULER 700) JW41 2004 CAMSHAFT VALVE Diagram
#
Description
Price
1
CAMSHAFT ASSY 2
JR7-12180-10-00
Unavailable
4
LIFTER, VALVE
7CT-E2153-00-00
Unavailable
