- Partiron
- OEM Parts
- Yamaha
- side-by-side
- 2018
- YXM70VPXJR (VIKING EPS) B5F11 2018
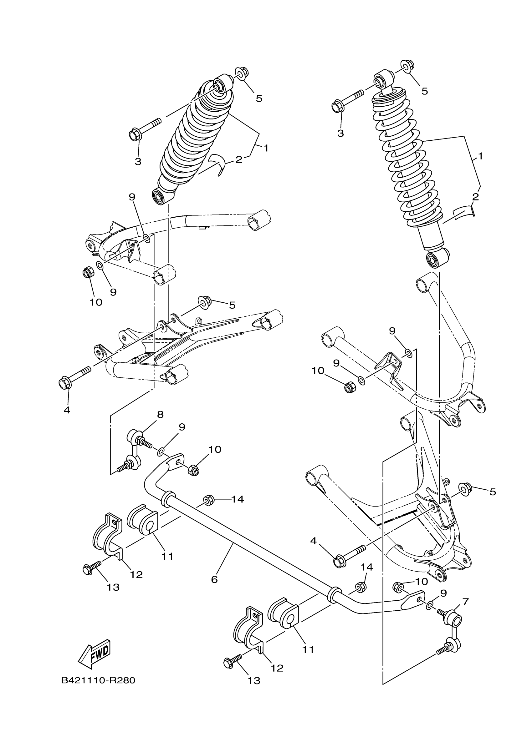
REAR SUSPENSION
Yamaha YXM70VPXJR (VIKING EPS) B5F11 2018 REAR SUSPENSION Diagram
#
Description
Price
11
BUSH, STABILIZER F
1XD-F386G-00-00
Unavailable
