- Partiron
- OEM Parts
- Yamaha
- side-by-side
- 2017
- YXM70VPSHL (VIKING EPS SE) B42N 2017
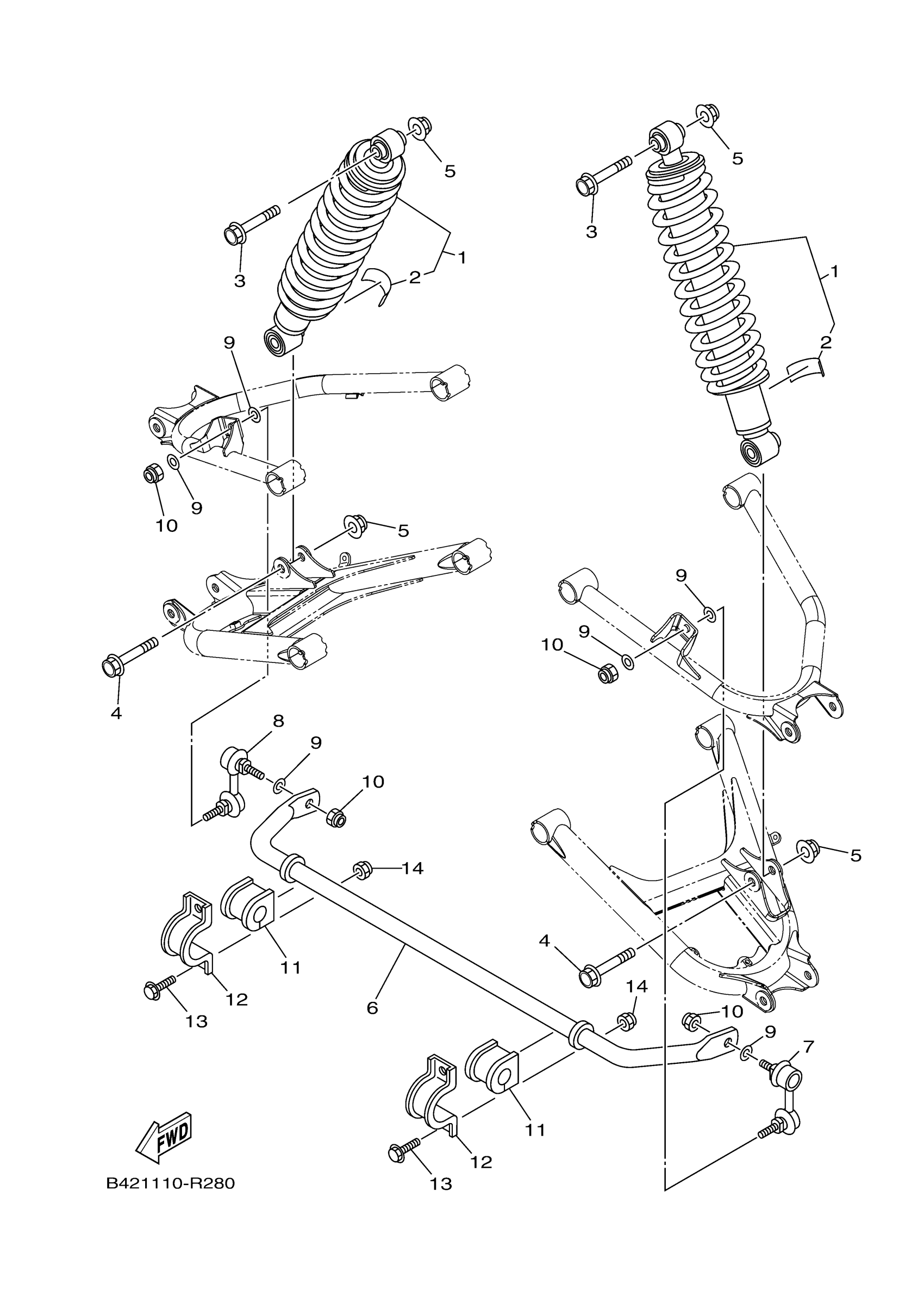
REAR SUSPENSION
Yamaha YXM70VPSHL (VIKING EPS SE) B42N 2017 REAR SUSPENSION Diagram
#
Description
Price
11
BUSH, STABILIZER F
1XD-F386G-00-00
Unavailable
