- Partiron
- OEM Parts
- Yamaha
- side-by-side
- 2016
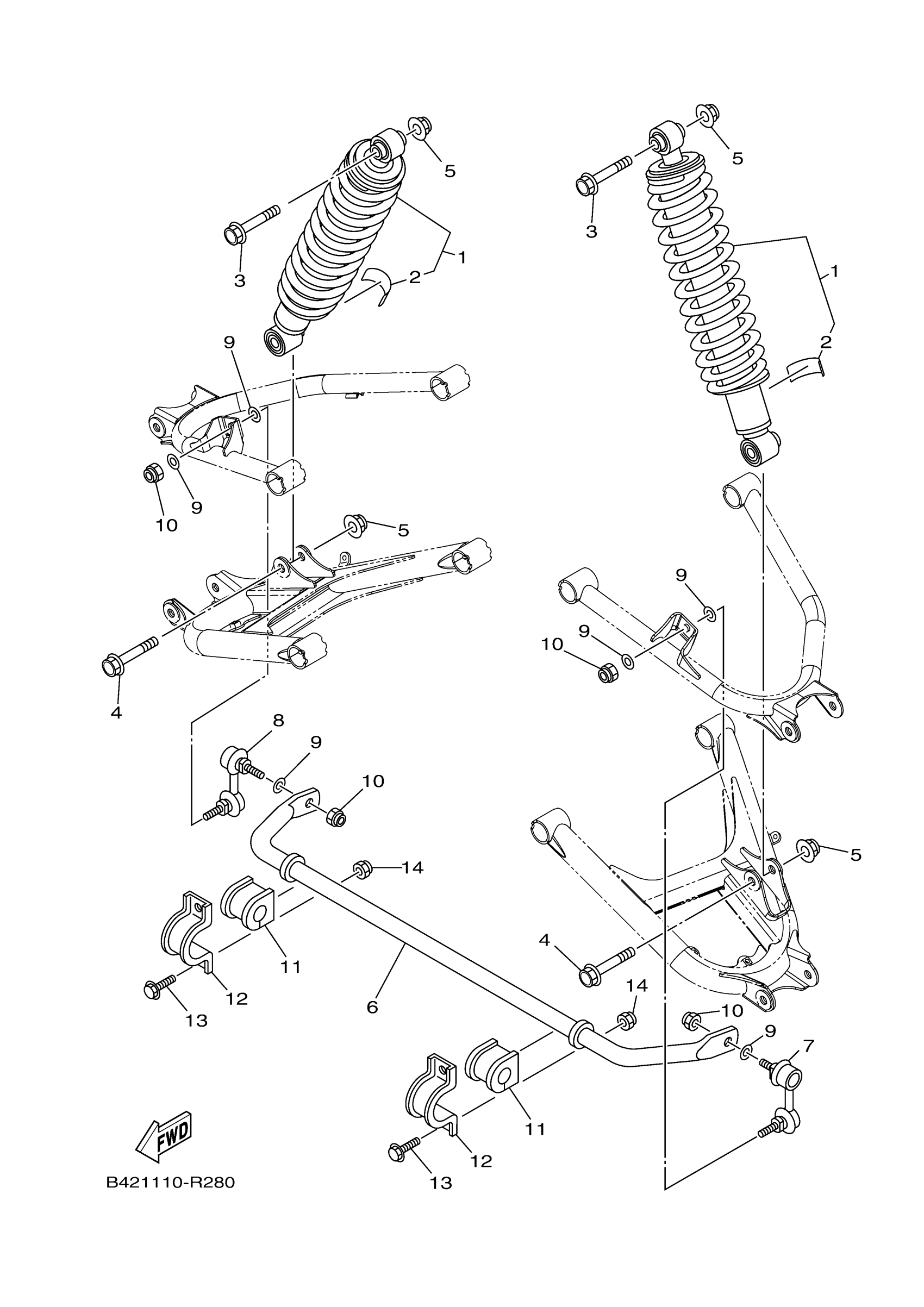
- YXM70VPSGB (VIKING EPS SPECIAL EDITION) B429 2016
REAR SUSPENSION
Yamaha YXM70VPSGB (VIKING EPS SPECIAL EDITION) B429 2016 REAR SUSPENSION Diagram
#
Description
Price
11
BUSH, STABILIZER F
1XD-F386G-00-00
Unavailable
