- Partiron
- OEM Parts
- Yamaha
- side-by-side
- 2016
- YXM70VPSGB (VIKING EPS SPECIAL EDITION) B429 2016
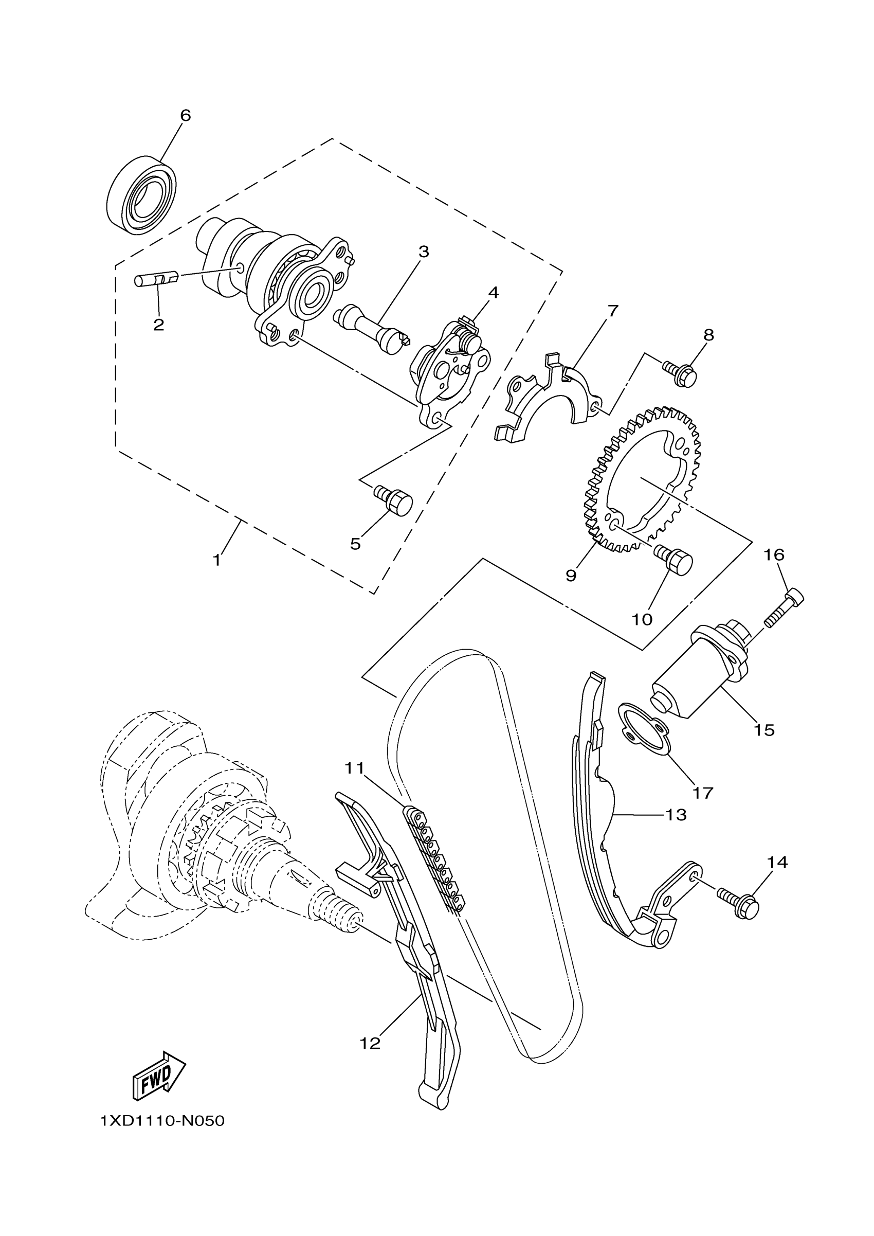
CAMSHAFT CHAIN
Yamaha YXM70VPSGB (VIKING EPS SPECIAL EDITION) B429 2016 CAMSHAFT CHAIN Diagram
#
Description
Price
16
BOLT,SOCKET
91317-06025-00
Unavailable
17
GASKET, TENSIONER CASE
4DW-12213-00-00
Unavailable
