- Partiron
- OEM Parts
- Yamaha
- side-by-side
- 2023
- YXM70VPRPC (VIKING EPS RANCH) BHFJ 2023
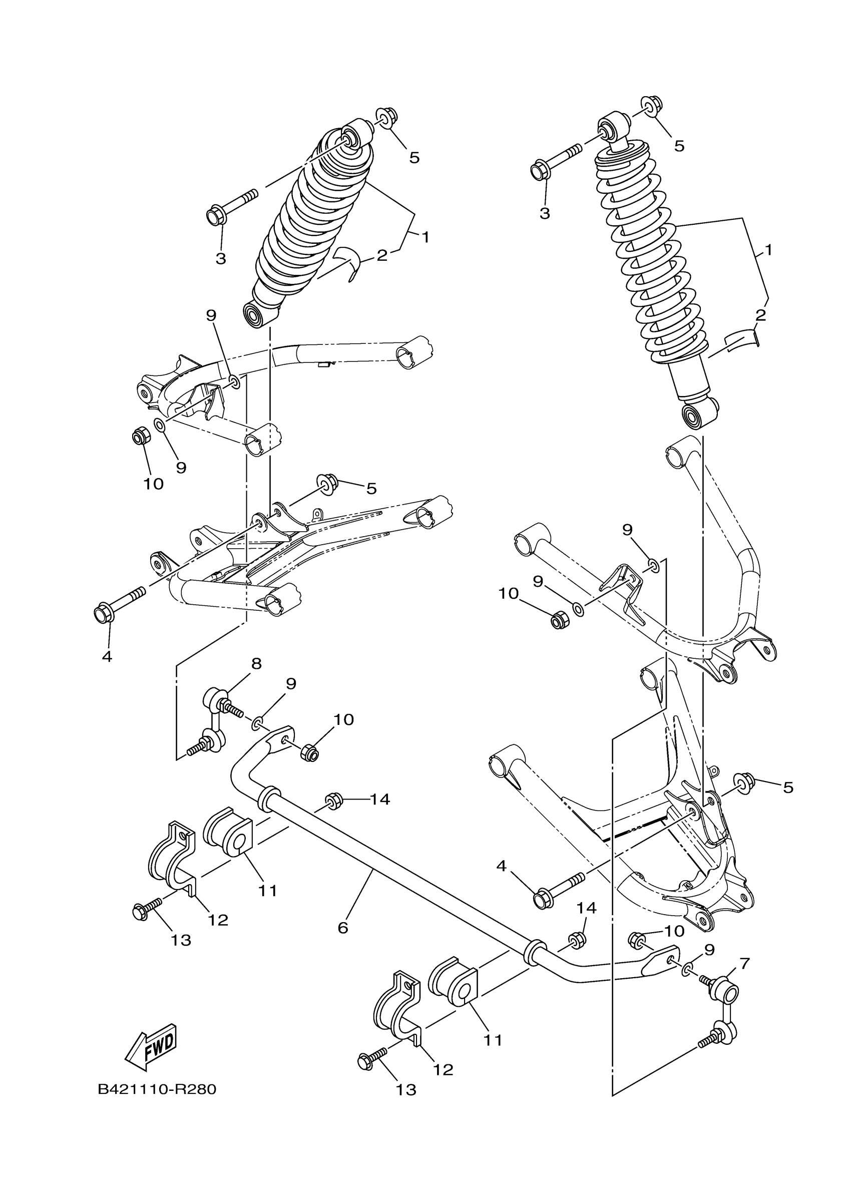
REAR SUSPENSION
Yamaha YXM70VPRPC (VIKING EPS RANCH) BHFJ 2023 REAR SUSPENSION Diagram
#
Description
Price
1
SHOCK ABSORBER ASS
BHF-F2200-00-00
Unavailable
11
BUSH, STABILIZER F
1XD-F386G-00-00
Unavailable
