- Partiron
- OEM Parts
- Yamaha
- side-by-side
- 2023
- YXM70VPRPC (VIKING EPS RANCH) BHFJ 2023
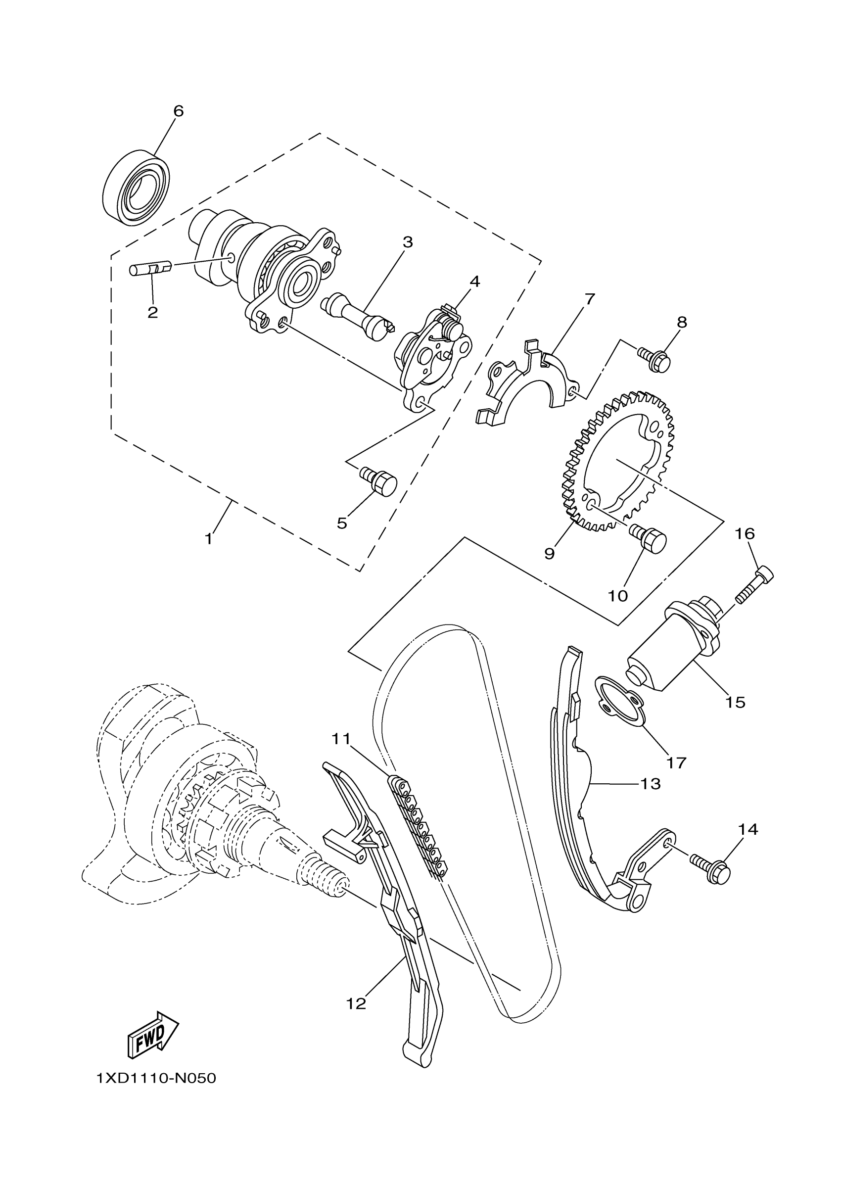
CAMSHAFT & CHAIN
Yamaha YXM70VPRPC (VIKING EPS RANCH) BHFJ 2023 CAMSHAFT & CHAIN Diagram
#
Description
Price
16
BOLT,SOCKET
91317-06025-00
Unavailable
17
GASKET, TENSIONER CASE
4DW-12213-00-00
Unavailable
