- Partiron
- OEM Parts
- Yamaha
- side-by-side
- 2021
- YXM70VPRMC (VIKING EPS RANCH EDITION) BHF6 2021
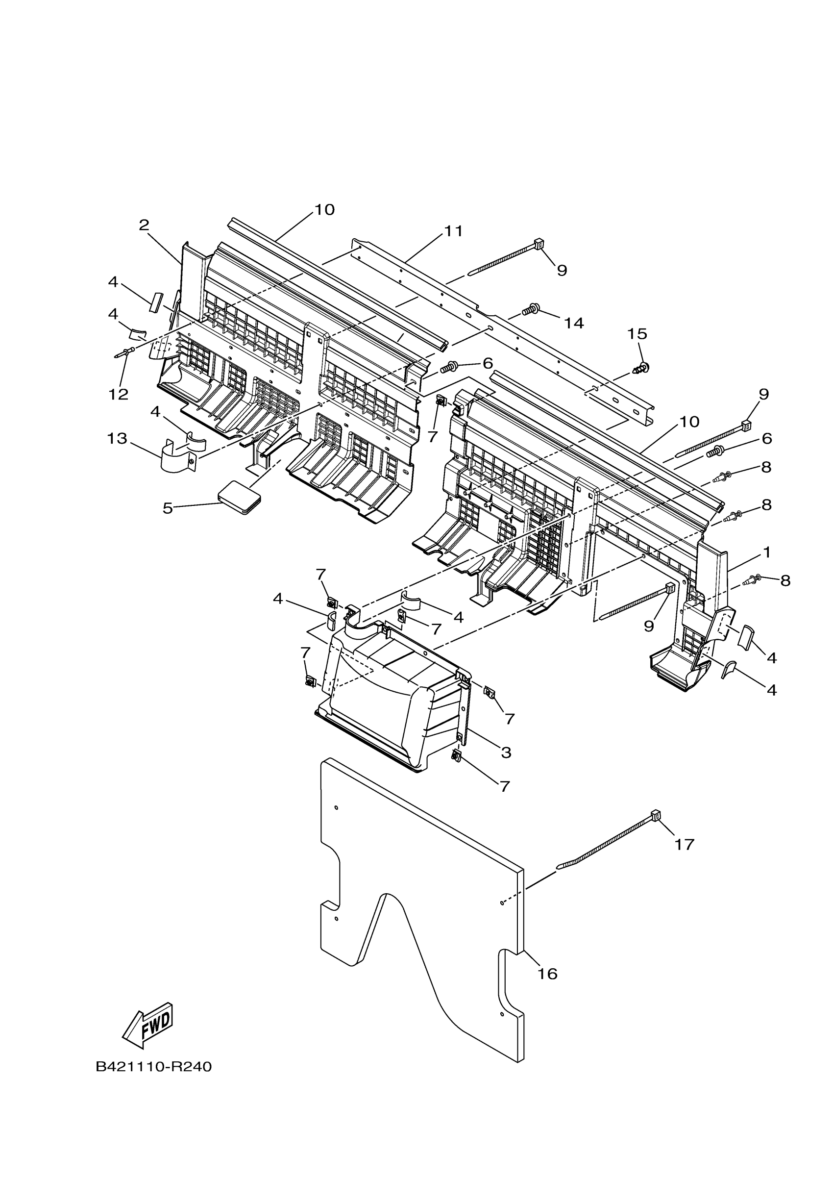
SIDE COVER 3
Yamaha YXM70VPRMC (VIKING EPS RANCH EDITION) BHF6 2021 SIDE COVER 3 Diagram
#
Description
Price
2
PLATE 2
B42-F191C-00-00
Unavailable
3
COVER 1
B42-F198F-00-00
Unavailable
5
GROMMET
B42-F1719-00-00
Unavailable
8
RIVET,SPEC'L SHAPE
90269-07805-00
Unavailable
9
CLAMP
90464-48800-00
Unavailable
10
SEAL 1
B42-F1732-00-00
Unavailable
12
RIVET, BLIND
90267-409U3-00
Unavailable
16
INSULATOR, SIDE COVER
B42-2174A-01-00
Unavailable
17
CLAMP
90464-76800-00
Unavailable
