- Partiron
- OEM Parts
- Yamaha
- side-by-side
- 2019
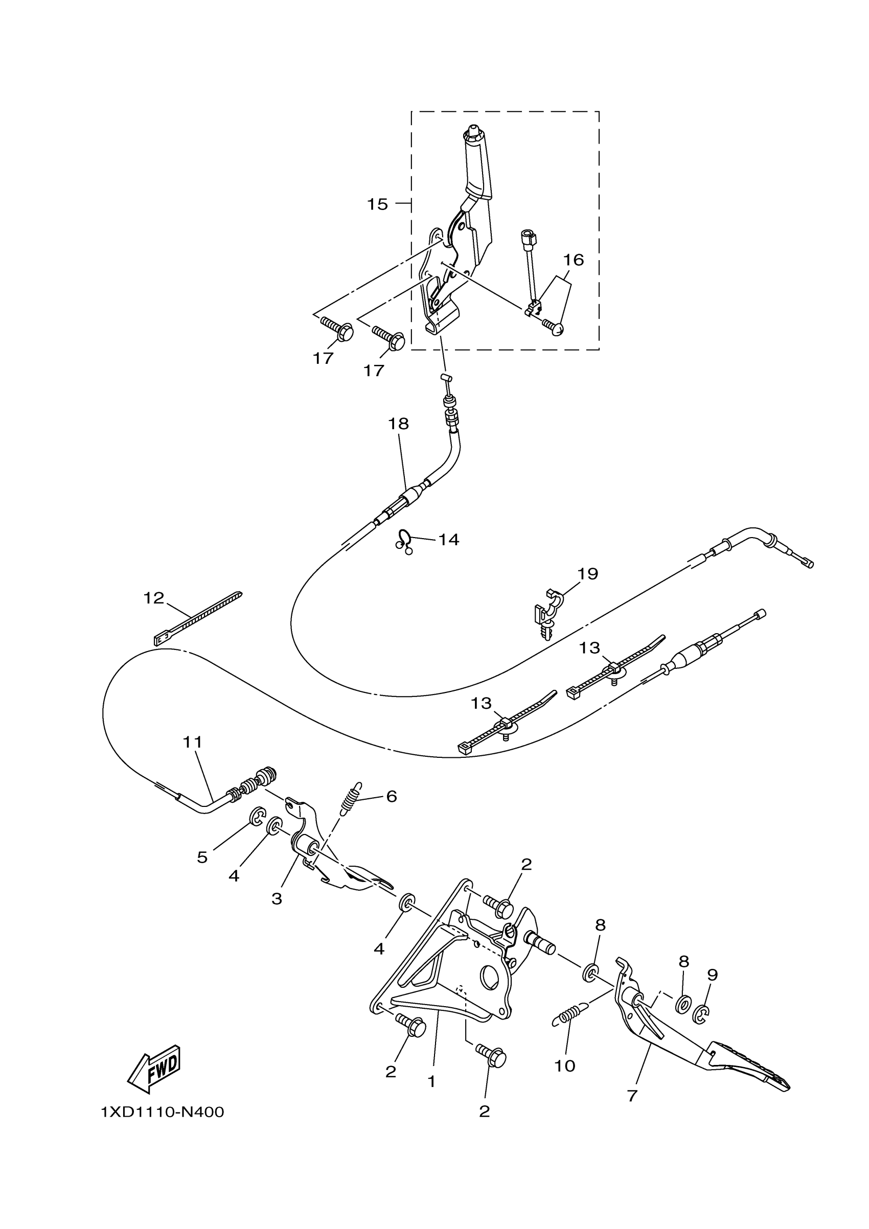
- YXM70VPRKC (VIKING EPS RANCH EDITION) B5FM 2019
PEDAL WIRE
Yamaha YXM70VPRKC (VIKING EPS RANCH EDITION) B5FM 2019 PEDAL WIRE Diagram
#
Description
Price
3
ACCEL PEDAL ASSY
1XD-F7801-00-00
Unavailable
14
CLAMP
90464-20804-00
Unavailable
16
. SWITCH COMP
5UG-H251S-00-00
Unavailable
17
BOLT, FLANGE
95817-06012-00
Unavailable
18
WIRE, BRAKE 1
1XD-26341-02-00
Unavailable
19
CLAMP
90464-12830-00
Unavailable
