- Partiron
- OEM Parts
- Yamaha
- side-by-side
- 2019
- YXM70VPHKH (VIKING EPS HUNTER) B5FJ 2019
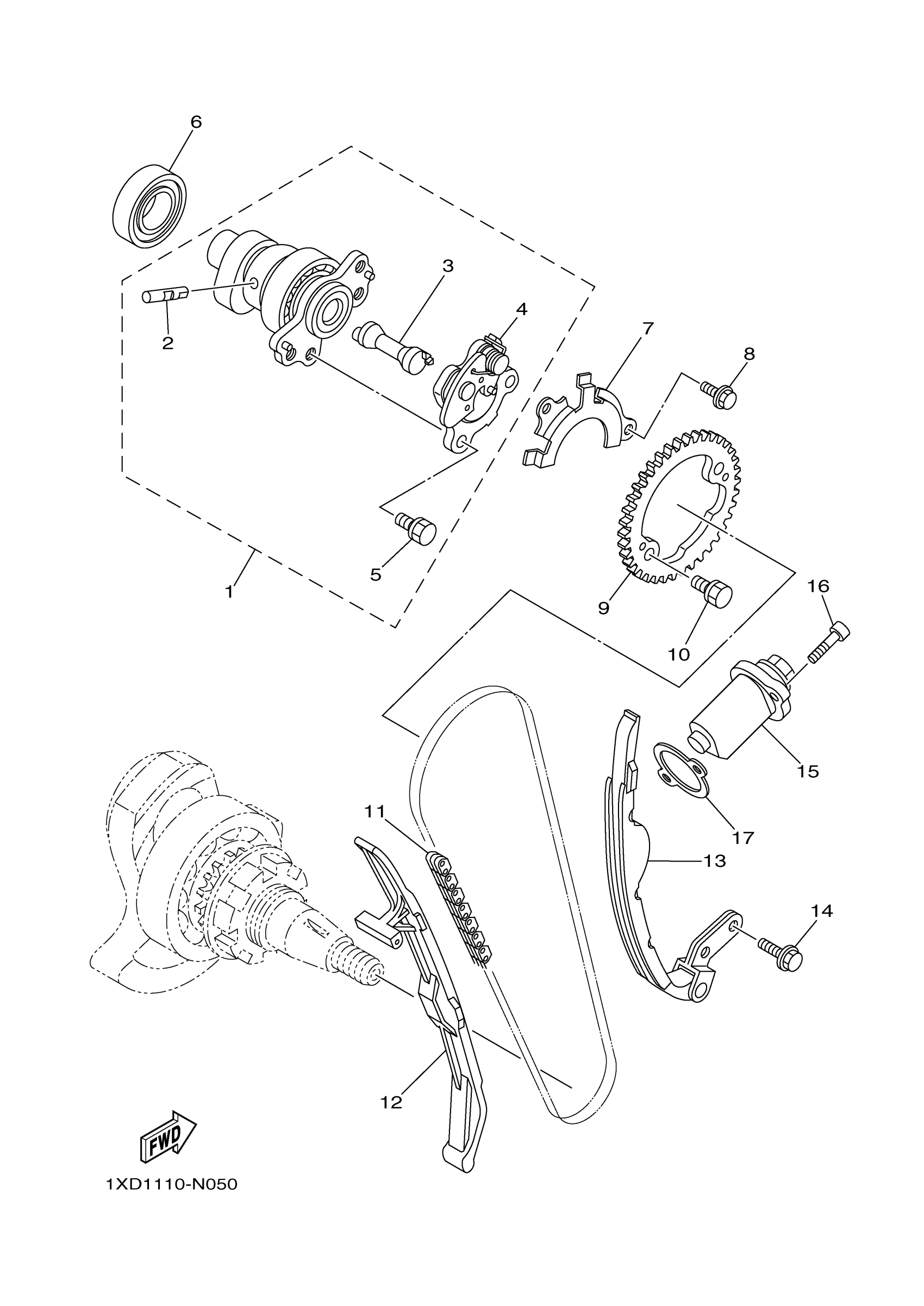
CAMSHAFT CHAIN
Yamaha YXM70VPHKH (VIKING EPS HUNTER) B5FJ 2019 CAMSHAFT CHAIN Diagram
#
Description
Price
16
BOLT,SOCKET
91317-06025-00
Unavailable
17
GASKET, TENSIONER CASE
4DW-12213-00-00
Unavailable
