- Partiron
- OEM Parts
- Yamaha
- side-by-side
- 2017
- YXM70VPHHH (VIKING EPS HUNTER) B42J 2017
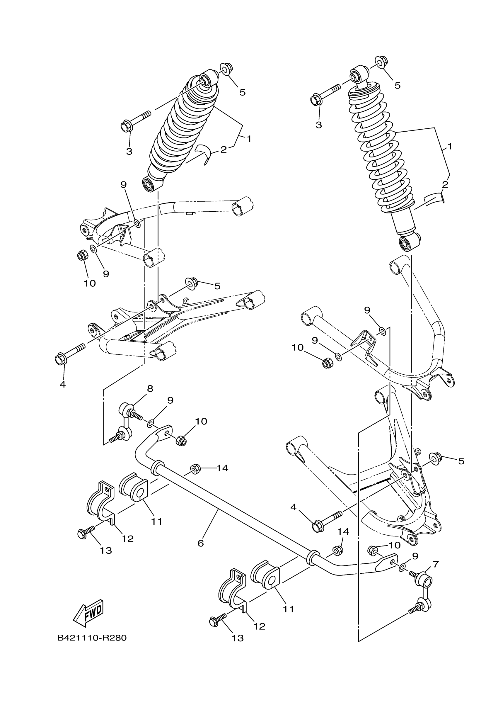
REAR SUSPENSION
Yamaha YXM70VPHHH (VIKING EPS HUNTER) B42J 2017 REAR SUSPENSION Diagram
#
Description
Price
11
BUSH, STABILIZER F
1XD-F386G-00-00
Unavailable
