- Partiron
- OEM Parts
- Yamaha
- side-by-side
- 2025
- YXM70VPASG (VIKING EPS) BHFU 2025
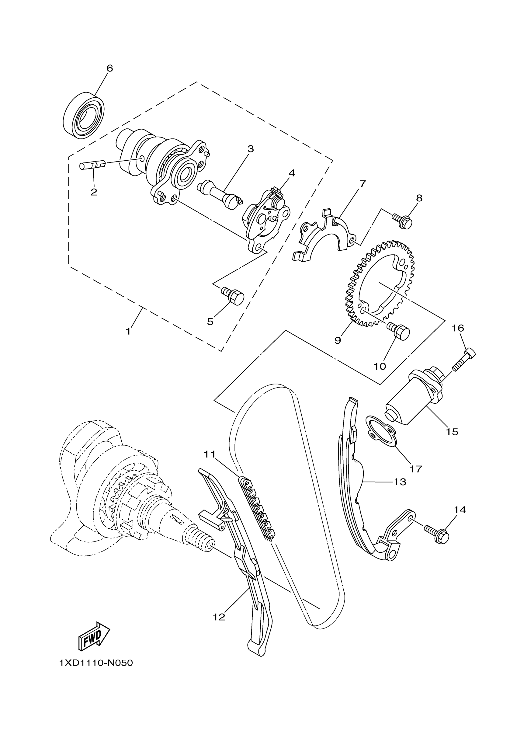
CAMSHAFT & CHAIN
Yamaha YXM70VPASG (VIKING EPS) BHFU 2025 CAMSHAFT & CHAIN Diagram
#
Description
Price
16
BOLT,SOCKET
91317-06025-00
Unavailable
17
GASKET, TENSIONER CASE
4DW-12213-00-00
Unavailable
