- Partiron
- OEM Parts
- Yamaha
- side-by-side
- 2020
- YXM70VPALG (VIKING EPS) B5FS 2020
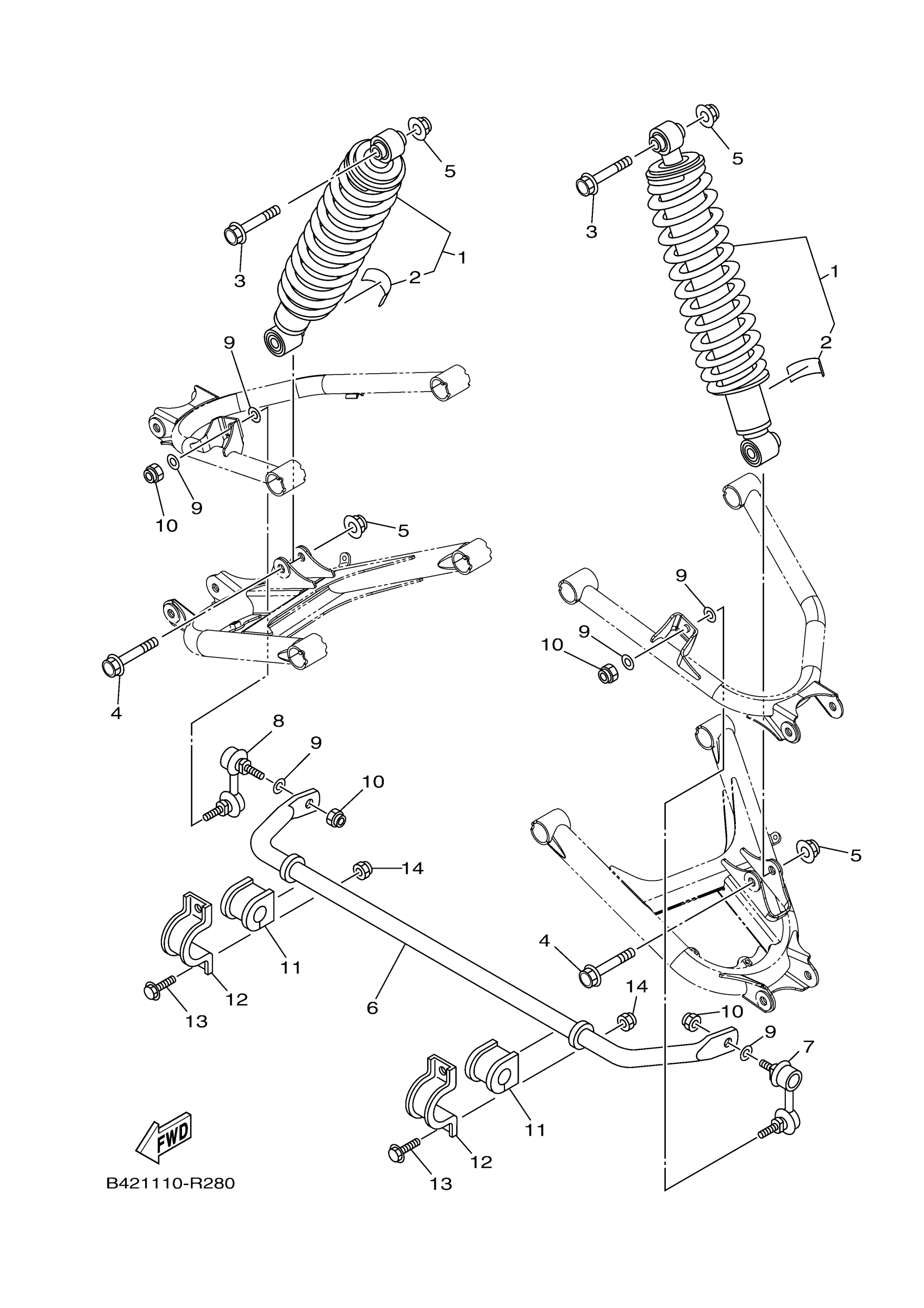
REAR SUSPENSION
Yamaha YXM70VPALG (VIKING EPS) B5FS 2020 REAR SUSPENSION Diagram
#
Description
Price
11
BUSH, STABILIZER F
1XD-F386G-00-00
Unavailable
