- Partiron
- OEM Parts
- Yamaha
- side-by-side
- 2019
- YXM70VDXKG (VIKING) BD9A 2019
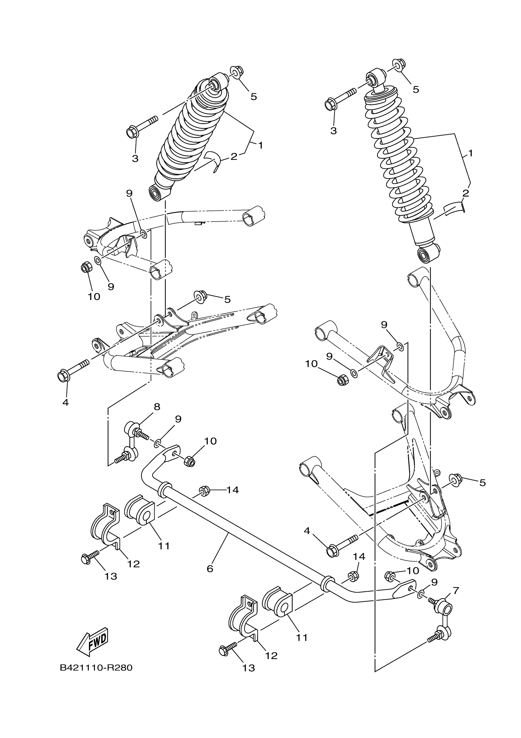
REAR SUSPENSION
Yamaha YXM70VDXKG (VIKING) BD9A 2019 REAR SUSPENSION Diagram
#
Description
Price
11
BUSH, STABILIZER F
1XD-F386G-00-00
Unavailable
