- Partiron
- OEM Parts
- Yamaha
- side-by-side
- 2018
- YXM70VDXJR (VIKING) BD991 2018
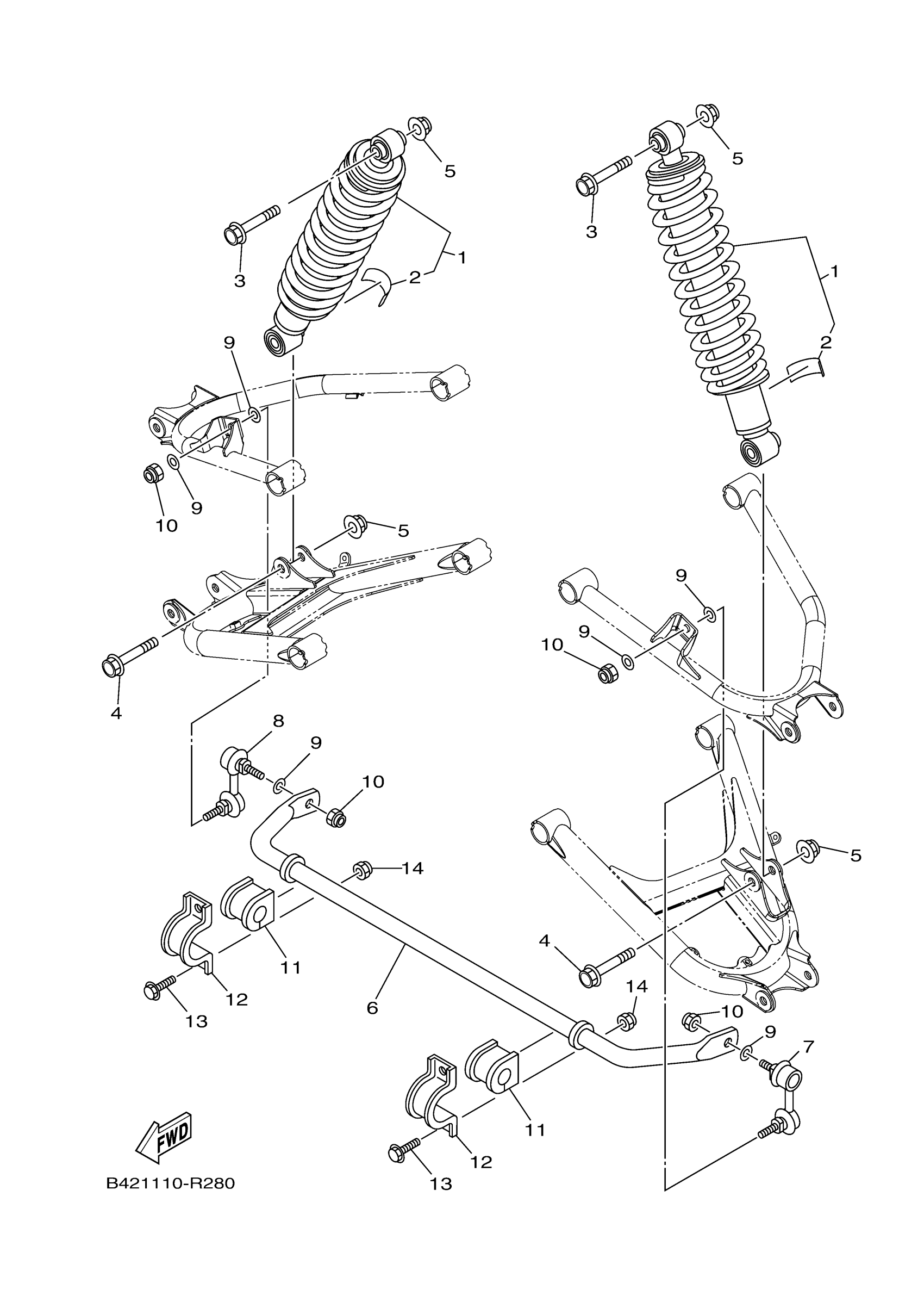
REAR SUSPENSION
Yamaha YXM70VDXJR (VIKING) BD991 2018 REAR SUSPENSION Diagram
#
Description
Price
11
BUSH, STABILIZER F
1XD-F386G-00-00
Unavailable
