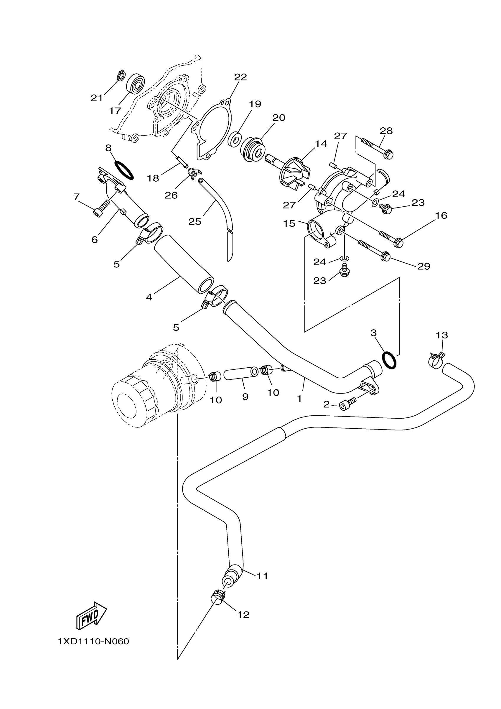
Yamaha YXM700PFR (VIKING EPS) 1XPN1 2015 WATER PUMP Diagram
#
Description
Price
9
HOSE (L58)
90445-16018-00
Unavailable
16
BOLT, FLANGE
95022-06030-00
Unavailable
17
BRG,R-B 6000 26MM 19G KY
93306-00004-00
Unavailable
18
PIPE, DRAIN
5D3-1243K-00-00
Unavailable
19
OIL SEAL (J10)
93101-10090-00
Unavailable
20
SEAL, MECHANICAL
11H-12438-10-00
Unavailable
21
CIRCLIP(10W)
99009-10400-00
Unavailable
22
GASKET, HOUSING COVER 2
3B4-12428-00-00
Unavailable
23
BOLT, FLANGE
95022-06010-00
Unavailable
24
GASKET 256113960000
90430-06014-00
Unavailable
25
HOSE (L1050)
90445-072G8-00
Unavailable
26
CLIP(42X)
90467-07093-00
Unavailable
27
PIN,DOWEL (603)
93604-10011-00
Unavailable
28
BOLT, FLANGE
95022-06050-00
Unavailable
29
BOLT, FLANGE
95022-06050-00
Unavailable
