- Partiron
- OEM Parts
- Yamaha
- side-by-side
- 2014
- YXM700PER (VIKING 700 EPS) 1XPC 2014
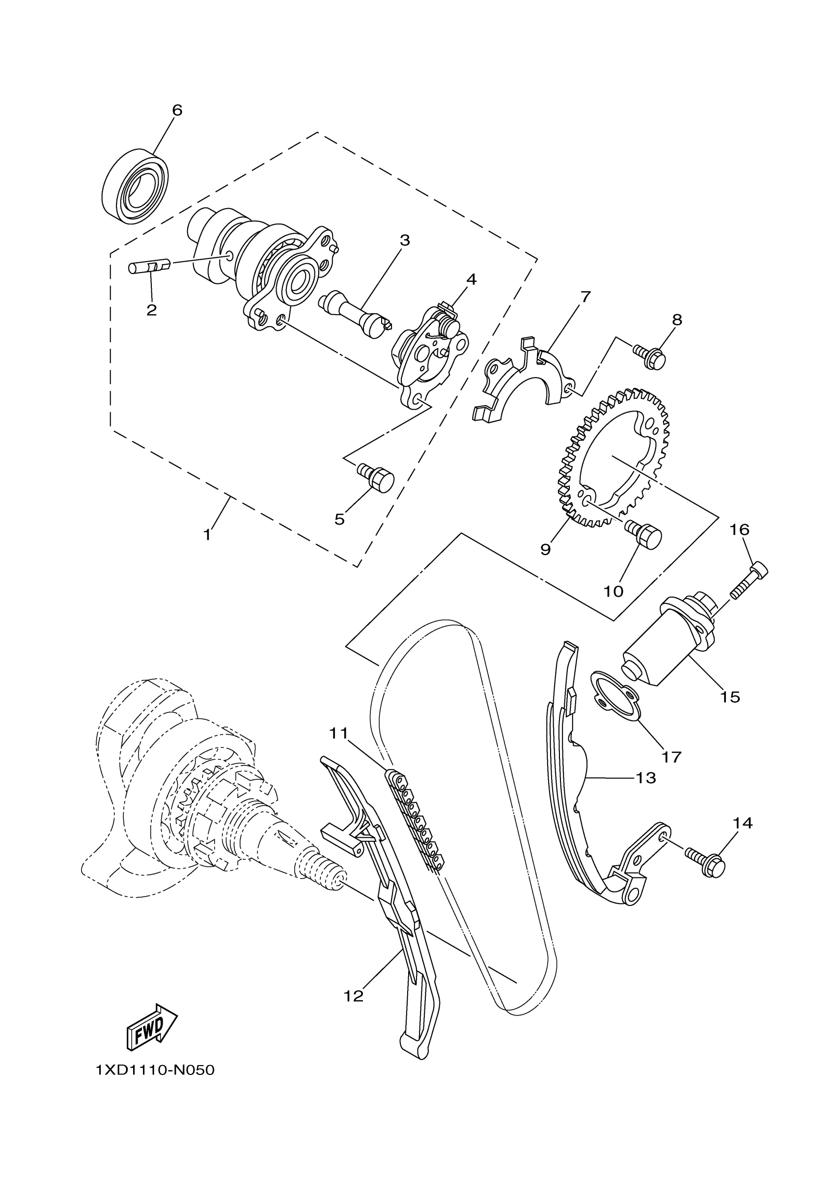
CAMSHAFT CHAIN
Yamaha YXM700PER (VIKING 700 EPS) 1XPC 2014 CAMSHAFT CHAIN Diagram
#
Description
Price
16
BOLT,SOCKET
91317-06025-00
Unavailable
17
GASKET, TENSIONER CASE
4DW-12213-00-00
Unavailable
