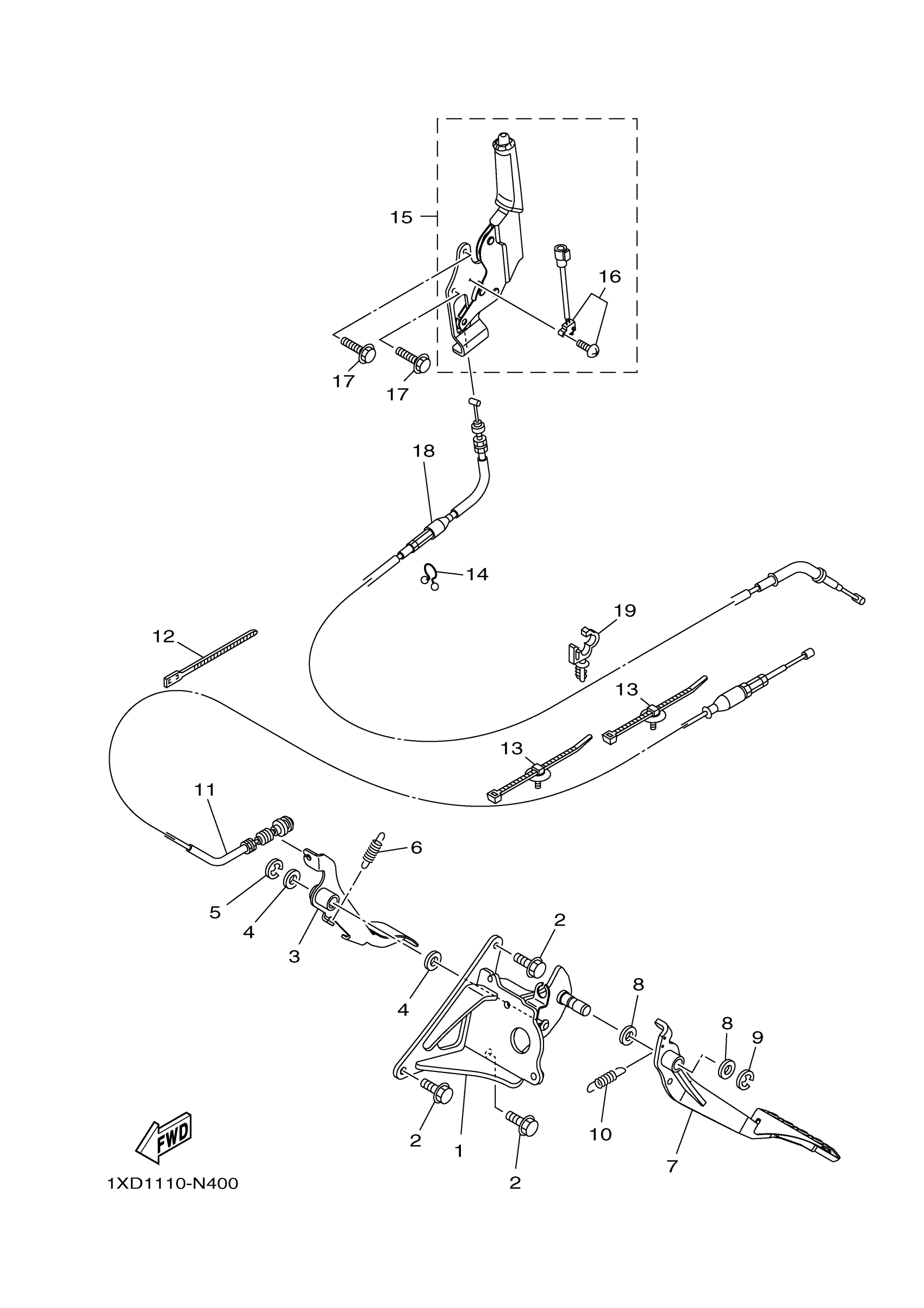
Yamaha YXM700DHEH (VIKING 700 HUNTER) 1XD4 2014 PEDAL WIRE Diagram
#
Description
Price
1
BRACKET,PEDL SUPRT
1XD-F2548-00-KT
Unavailable
3
ACCEL PEDAL ASSY
1XD-F7801-00-00
Unavailable
14
CLAMP
90464-20804-00
Unavailable
16
. SWITCH COMP
5UG-H251S-00-00
Unavailable
17
BOLT, FLANGE
95817-06012-00
Unavailable
18
WIRE, BRAKE 1
1XD-26341-02-00
Unavailable
19
CLAMP
90464-12830-00
Unavailable
