- Partiron
- OEM Parts
- Yamaha
- side-by-side
- 2014
- YXM700DEL (VIKING 700) 1XD1 2014
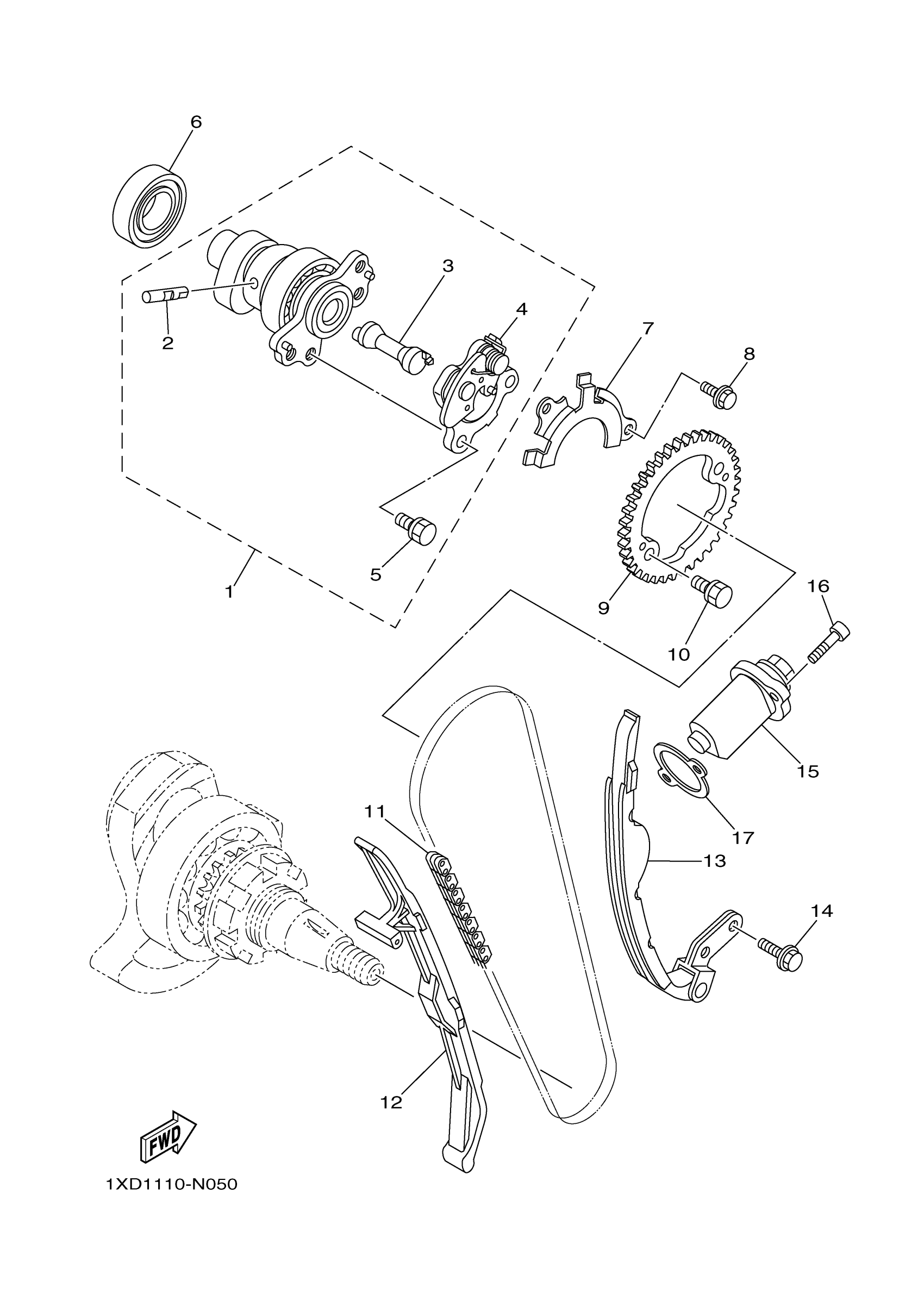
CAMSHAFT CHAIN
Yamaha YXM700DEL (VIKING 700) 1XD1 2014 CAMSHAFT CHAIN Diagram
#
Description
Price
16
BOLT,SOCKET
91317-06025-00
Unavailable
17
GASKET, TENSIONER CASE
4DW-12213-00-00
Unavailable
