- Partiron
- OEM Parts
- Yamaha
- side-by-side
- 2026
- YXF85WTZTM (WOLVERINE X4 850 XT R) BARX 2026
MASTER CYLINDER
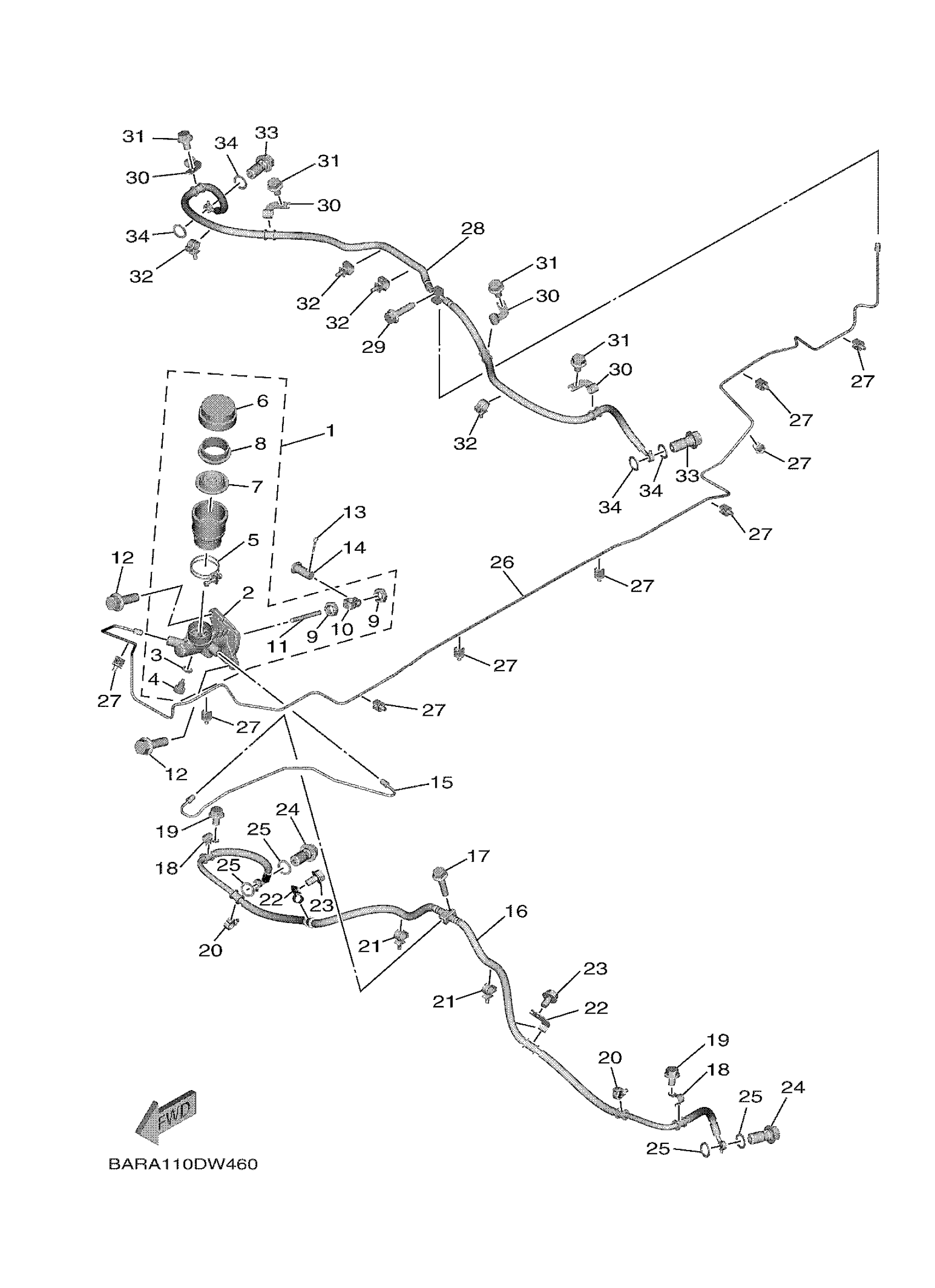
Yamaha YXF85WTZTM (WOLVERINE X4 850 XT R) BARX 2026 MASTER CYLINDER Diagram
#
Description
Price
1
MASTER CYLINDER AS
2PG-2583T-01-00
Unavailable
2
CYLINDER KIT, MAST
5UG-25808-00-00
Unavailable
3
WASHER, OIL BOLT
5UG-25878-00-00
Unavailable
11
PUSH ROD COMP.
5UG-25880-00-00
Unavailable
15
PIPE, BRAKE 2
BAR-F5882-01-00
Unavailable
16
HOSE, BRAKE 1
BG4-F5872-03-00
Unavailable
17
BOLT, FLANGE
95817-06025-00
Unavailable
18
HOLDER, BRAKE HOSE 1
5KM-25875-00-00
Unavailable
19
BOLT, FLANGE
95812-06010-00
Unavailable
20
CLAMP
5B4-F1338-00-00
Unavailable
21
CLAMP
90464-16012-00
Unavailable
22
HOLDER, BRAKE HOSE
2PG-25876-00-00
Unavailable
23
BOLT, FLANGE
95812-06010-00
Unavailable
24
BOLT, UNION
90401-10015-00
Unavailable
25
WASHER, PLATE(481)
90201-10118-00
Unavailable
26
PIPE, BRAKE
BAR-F5871-11-00
Unavailable
27
CLAMP 1
5KM-81677-00-00
Unavailable
28
HOSE, BRAKE 2
BAR-F5873-02-00
Unavailable
29
BOLT, FLANGE
90105-06833-00
Unavailable
30
HOLDER, BRAKE HOSE
2PG-25876-00-00
Unavailable
31
BOLT, FLANGE
95812-06010-00
Unavailable
32
CLAMP
90464-16012-00
Unavailable
33
BOLT, UNION
90401-10015-00
Unavailable
34
WASHER, PLATE(481)
90201-10118-00
Unavailable
