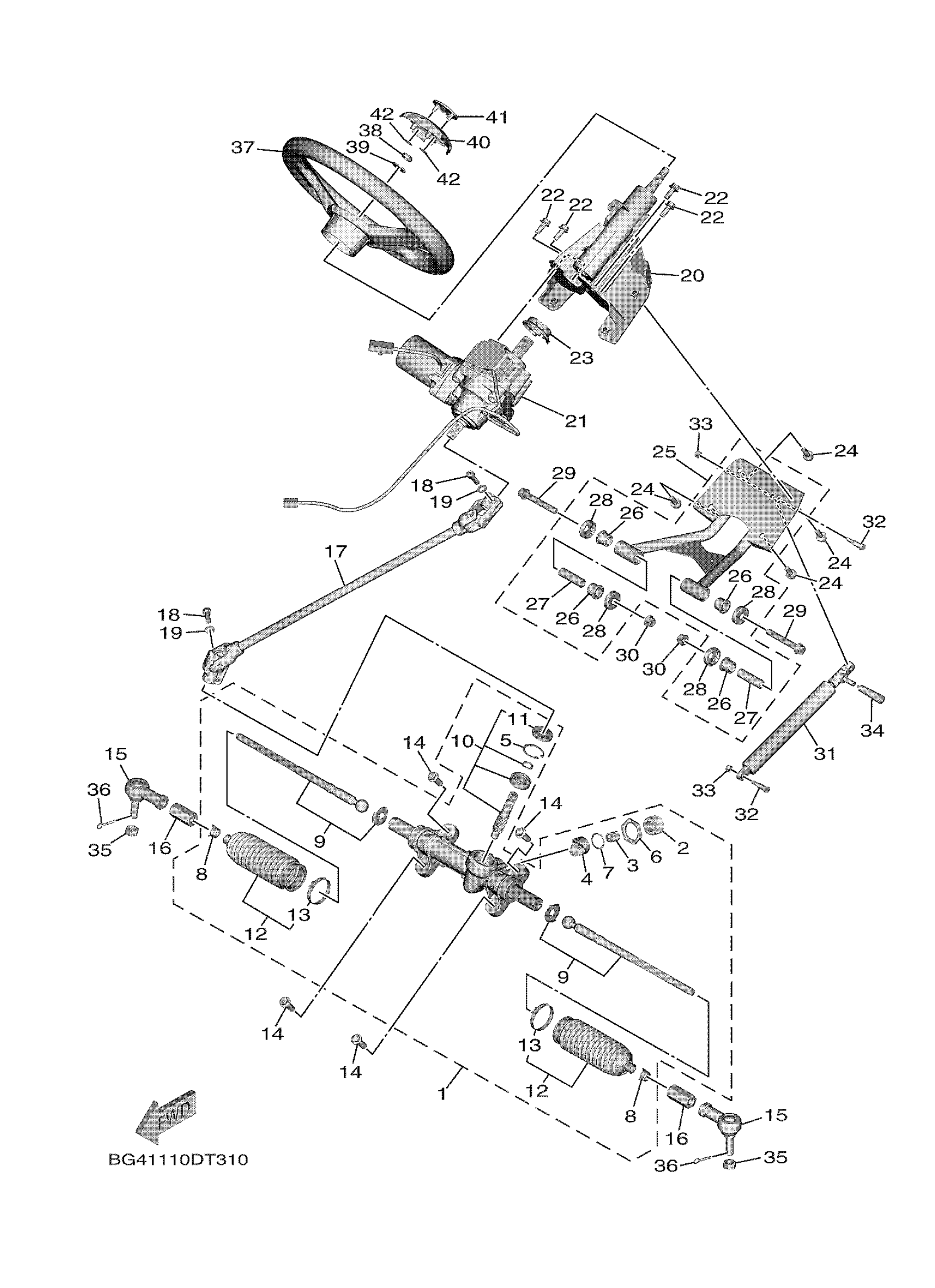
Yamaha YXF85WPSKB (WOLVERINE X4 SE) BG4K 2019 STEERING Diagram
#
2
COVER,ADJUST
1XD-F387G-00-00
Unavailable
3
SPRING,PRESSURE
1XD-F387K-00-00
Unavailable
4
PAD,PRESSURE
1XD-F387F-00-00
Unavailable
5
RING,STOPPER
1XD-F387J-00-00
Unavailable
6
LOCK ASSY
1XD-F178K-00-00
Unavailable
9
RACK END SET
BG4-F38H0-00-00
Unavailable
12
SEAL 1 W/ BAND SET OF 2
1XD-F1208-00-00
Unavailable
14
BOLT, FLANGE
90105-10348-00
Unavailable
16
NUT 1
2PG-F3833-00-00
Unavailable
17
STEERING SHAFT ASS
2MB-F3840-01-00
Unavailable
18
BOLT, SOCKET
91317-08025-00
Unavailable
19
WASHER, PLATE(3XP)
90201-083P5-00
Unavailable
20
COLUMN, STEERING 2
BG4-23813-00-00
Unavailable
21
POWER STRG. ACTUATOR ASSY
2HC-238B0-03-00
Unavailable
22
BOLT, FLANGE
95812-08020-00
Unavailable
23
COVER, DUST
2MB-2384L-00-00
Unavailable
24
BOLT, FLANGE
95812-08020-00
Unavailable
25
TOP MOUNT COMP.
BG4-F33B0-02-00
Unavailable
26
BUSH, SOLID(3GG)
90381-15088-00
Unavailable
27
COLLAR
90387-10111-00
Unavailable
28
COVER, THRUST 1
1UY-23517-01-00
Unavailable
29
BOLT, FLANGE
90105-10267-00
Unavailable
30
NUT, S/L FLANGE
95602-10200-00
Unavailable
31
SPRING,DAMPER
BG4-F3855-01-00
Unavailable
32
BOLT
90109-06255-00
Unavailable
33
NUT, NYLON
95707-06300-00
Unavailable
34
HANDLE
BG4-F4812-01-00
Unavailable
35
NUT, CASTLE
90171-12001-00
Unavailable
36
PIN, COTTER
91490-20025-00
Unavailable
37
WHEEL,STEERING
2HC-F3838-02-00
Unavailable
38
NUT, SELF-LOCKING
90185-12008-00
Unavailable
39
YBS66-12 WASHER,PLAIN
92990-12200-00
Unavailable
40
COVER, STEERING
2HC-F3818-10-00
Unavailable
41
TUNING FORK MARK
1XD-F175B-01-00
Unavailable
42
NUT, SPRING
90183-06071-00
Unavailable
