- Partiron
- OEM Parts
- Yamaha
- side-by-side
- 2020
- YXF85WPBLL (WOLVERINE X4) BAR7 2020
SHIFT CAM FORK
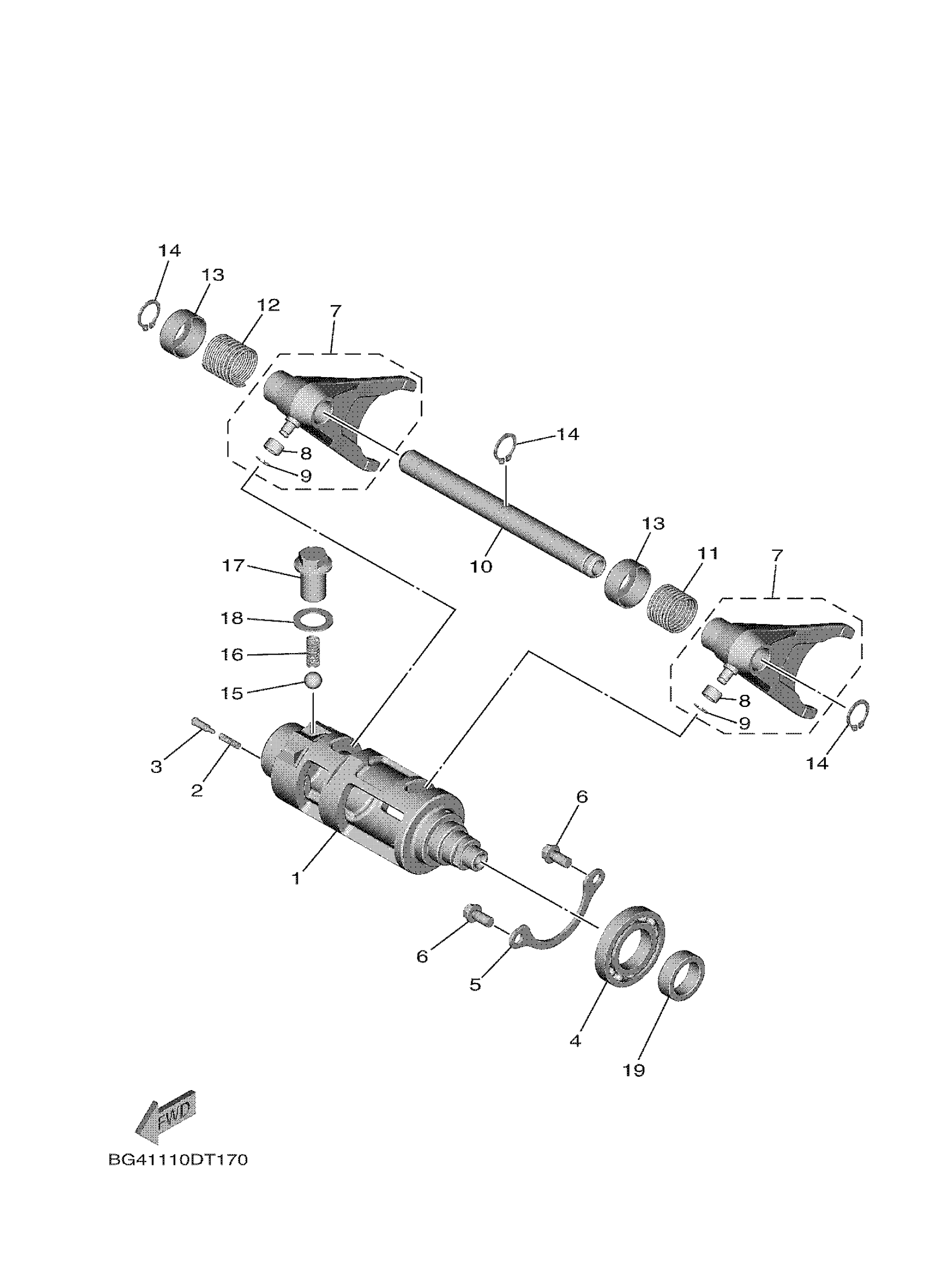
Yamaha YXF85WPBLL (WOLVERINE X4) BAR7 2020 SHIFT CAM FORK Diagram
#
Description
Price
1
CAM, SHIFT
BG4-18541-00-00
Unavailable
7
FORK, SHIFT 1
BG4-18501-00-00
Unavailable
9
CIRCLIP (EU0)
99080-04600-00
Unavailable
11
SPRING, COMPRESSION
90501-160A6-00
Unavailable
12
SPRING, COMPRESSION
90501-160A7-00
Unavailable
13
CAP, SPRING
BG4-18323-00-00
Unavailable
16
SPRING, COMPRESSION (465)
90501-10353-00
Unavailable
17
BOLT, FLANGE
90105-14003-00
Unavailable
18
GASKET(59V)
90430-14194-00
Unavailable
19
COLLAR (26H)
90387-204H5-00
Unavailable
