- Partiron
- OEM Parts
- Yamaha
- side-by-side
- 2026
- YXF10WRZTM (WOLVERINE RMAX4 1000 COMPACT XT R) BLU7 2026
MASTER CYLINDER
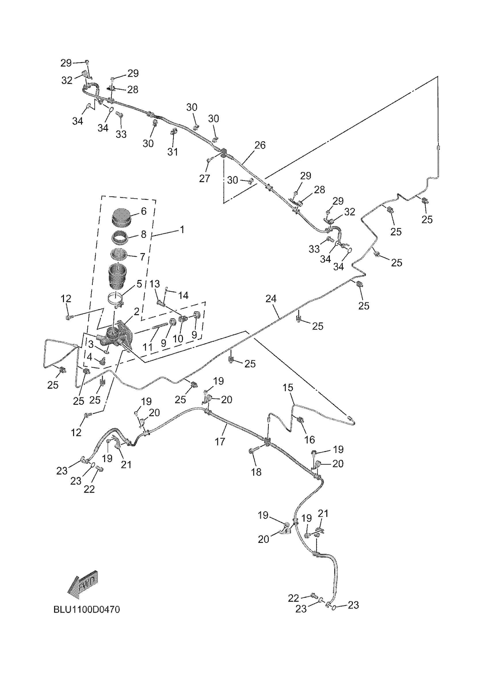
Yamaha YXF10WRZTM (WOLVERINE RMAX4 1000 COMPACT XT R) BLU7 2026 MASTER CYLINDER Diagram
#
Description
Price
1
MASTER CYLINDER AS
2PG-2583T-01-00
Unavailable
2
CYLINDER KIT, MAST
5UG-25808-00-00
Unavailable
3
WASHER, OIL BOLT
5UG-25878-00-00
Unavailable
11
PUSH ROD COMP.
5UG-25880-00-00
Unavailable
16
CLAMP 1
5KM-81677-00-00
Unavailable
17
HOSE, BRAKE 1
BKP-F5872-01-00
Unavailable
18
BOLT, FLANGE
95817-06025-00
Unavailable
19
BOLT, FLANGE
95812-06010-00
Unavailable
20
HOLDER, BRAKE HOSE
3B4-25886-00-00
Unavailable
21
HOLDER, BRAKE HOSE
2PG-25876-00-00
Unavailable
22
BOLT, UNION
90401-10015-00
Unavailable
23
WASHER, PLATE(481)
90201-10118-00
Unavailable
24
PIPE, BRAKE
B4J-F5871-01-00
Unavailable
25
CLAMP 1
5KM-81677-00-00
Unavailable
26
HOSE, BRAKE 2
BKP-F5873-01-00
Unavailable
27
BOLT, FLANGE
90105-06833-00
Unavailable
28
HOLDER, BRAKE HOSE
2PG-25876-00-00
Unavailable
29
BOLT, FLANGE
95812-06010-00
Unavailable
30
CLAMP(3XV)
90464-15157-00
Unavailable
31
CLAMP
90464-16006-00
Unavailable
32
HOLDER, BRAKE HOSE
3B4-25886-00-00
Unavailable
33
BOLT, UNION
90401-10015-00
Unavailable
34
WASHER, PLATE(481)
90201-10118-00
Unavailable
