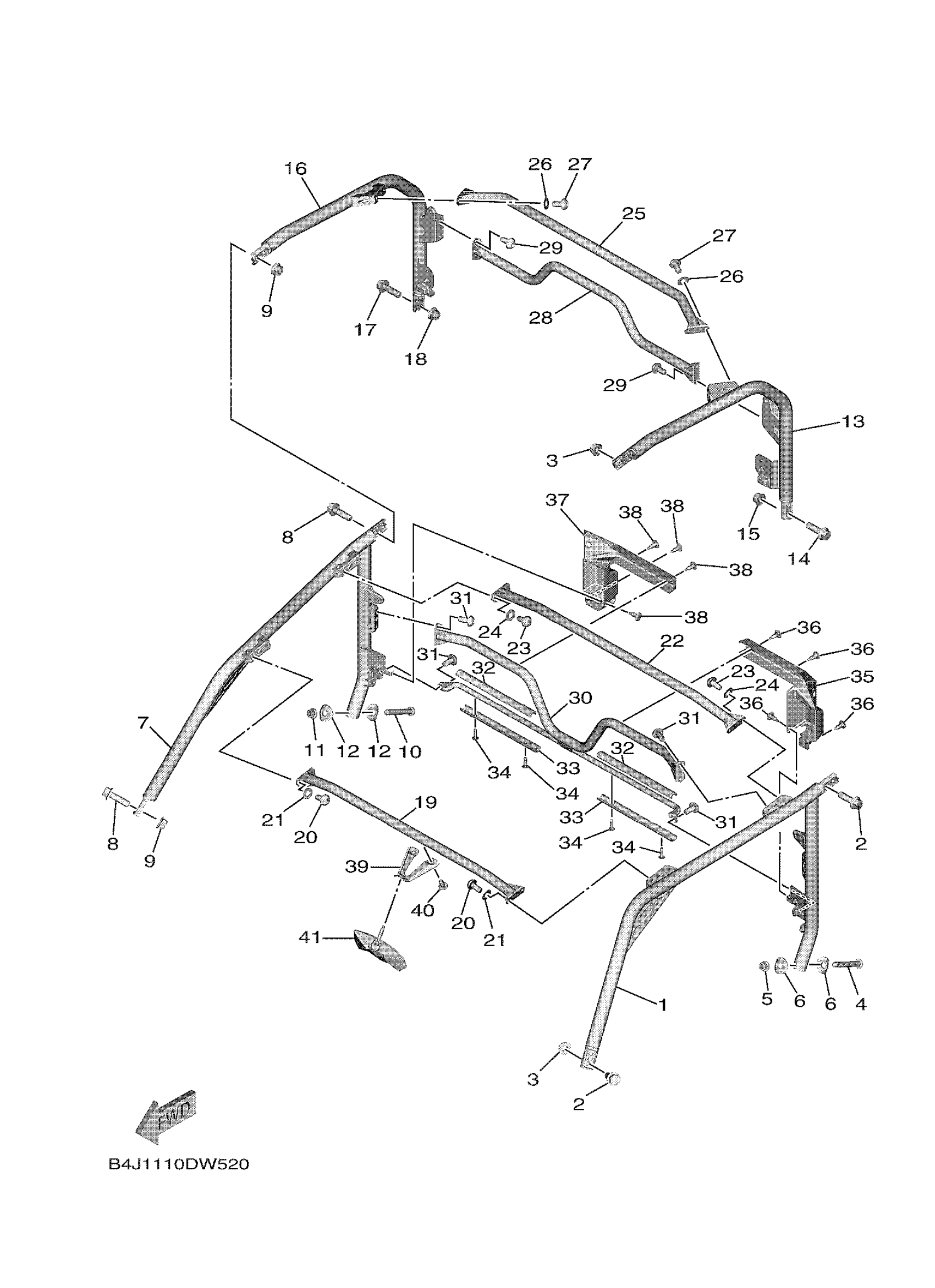
Yamaha YXF10WRZPT (WOLVERINE RMAX4 XTR) B4JD 2023 GUARD 2 Diagram
#
Description
Price
1
SUPPORT, ROOF 3
B4J-K831A-01-00
Unavailable
7
SUPPORT, ROOF 4
B4J-K831E-01-00
Unavailable
16
FRAME, SUNROOF 2
B4J-K833R-01-00
Unavailable
19
MEMBER, ROOF FRAME
B4J-K8392-01-00
Unavailable
20
BOLT,HEX. SOCKET B
90111-10802-00
Unavailable
21
WASHER, PLATE
90201-10076-00
Unavailable
22
MEMBER, ROOF FRAME 2
B4J-K8393-01-00
Unavailable
23
BOLT,HEX. SOCKET B
90111-10802-00
Unavailable
24
WASHER, PLATE
90201-10076-00
Unavailable
25
MEMBER, ROOF FRAME 3
B4J-K8394-01-00
Unavailable
26
WASHER, PLATE
90201-10076-00
Unavailable
27
BOLT,HEX. SOCKET B
90111-10802-00
Unavailable
28
ROOF SUPPORT ASSY
B4J-K830A-00-00
Unavailable
29
BOLT,HEX. SOCKET B
90111-10802-00
Unavailable
30
ROOF SUPPORT ASSY
B4J-K830B-00-00
Unavailable
31
BOLT,HEX. SOCKET B
90111-10802-00
Unavailable
32
GRIP,HAND
BG4-K8214-01-00
Unavailable
33
COVER,ASSIST GRIP
BG4-K7575-01-00
Unavailable
34
SCREW, ROUND TAPPING
90160-05012-00
Unavailable
35
COVER, SIDE PILLAR
B4J-K813F-00-00
Unavailable
36
RIVET,SPEC'L SHAPE
90269-07805-00
Unavailable
37
COVER, SIDE PILLAR
B4J-K813G-00-00
Unavailable
38
RIVET,SPEC'L SHAPE
90269-07805-00
Unavailable
39
BRACKET 2
BAS-K7722-00-00
Unavailable
40
SCREW
90149-08805-00
Unavailable
41
GENUINE YAMAHA SXS CENTER MIRR
BAS-F6206-V0-00
Unavailable
