- Partiron
- OEM Parts
- Yamaha
- side-by-side
- 2026
- YXF10WLZTM (WOLVERINE RMAX4 1000 XT R) BYP5 2026
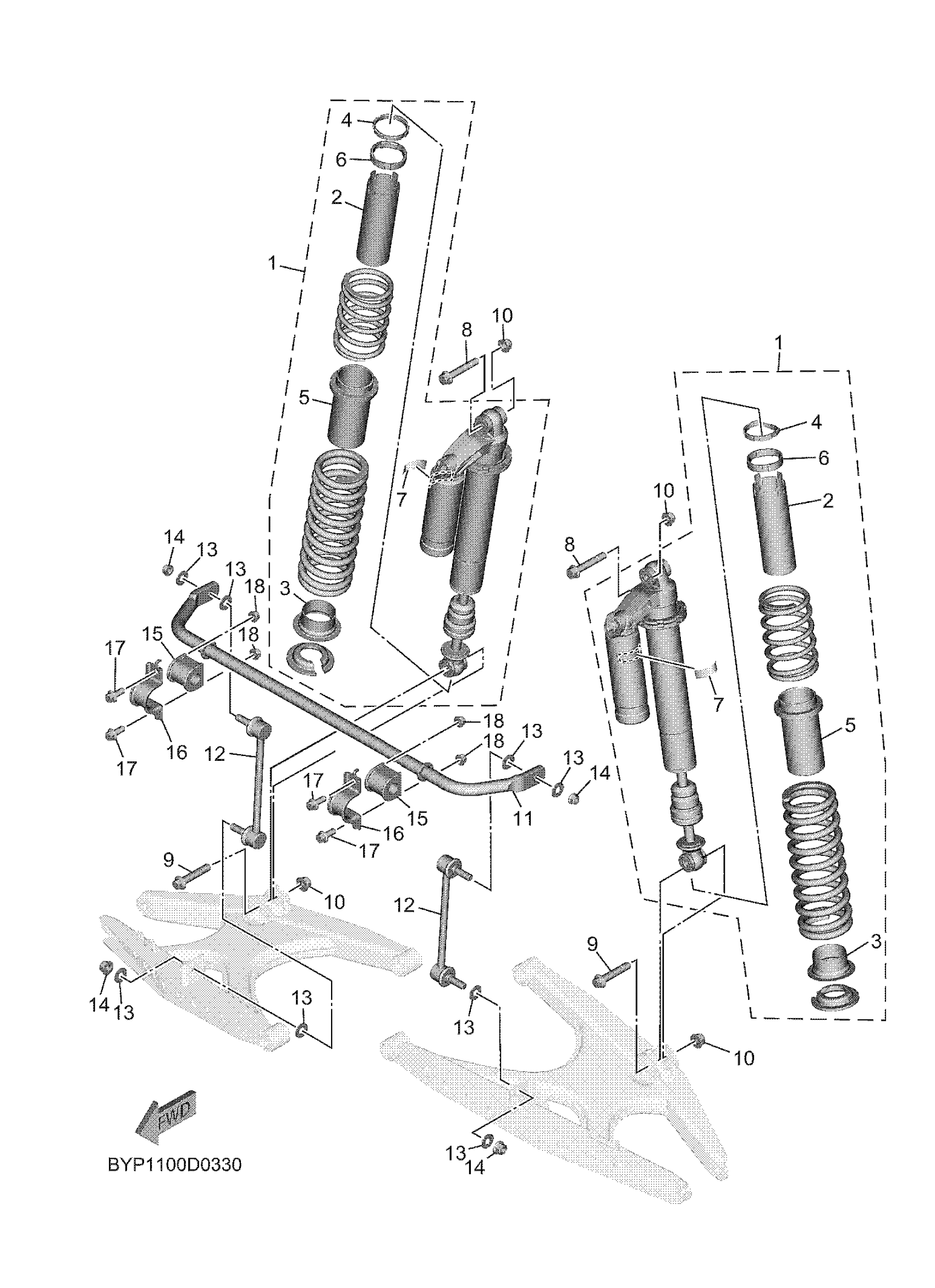
REAR SUSPENSION
Yamaha YXF10WLZTM (WOLVERINE RMAX4 1000 XT R) BYP5 2026 REAR SUSPENSION Diagram
#
Description
Price
1
RR. SHOCK ABSORBER
BYP-F220T-00-00
Unavailable
3
CUP
BKP-F5951-00-00
Unavailable
4
RING, HOLD
BKP-F2973-00-00
Unavailable
6
RING, HOLD 2
BKP-F2981-00-00
Unavailable
11
BAR, STABILIZER
BLU-G7491-00-00
Unavailable
16
COVER, STABILIZER
1XD-F386H-00-00
Unavailable
17
BOLT, FLANGE
90105-10489-00
Unavailable
18
NUT, SELF-LOCKING
90185-10011-00
Unavailable
