- Partiron
- OEM Parts
- Yamaha
- side-by-side
- 2017
- YXE70WPXHG (WOLVERINE R-SPEC EPS) 2MBC 2017
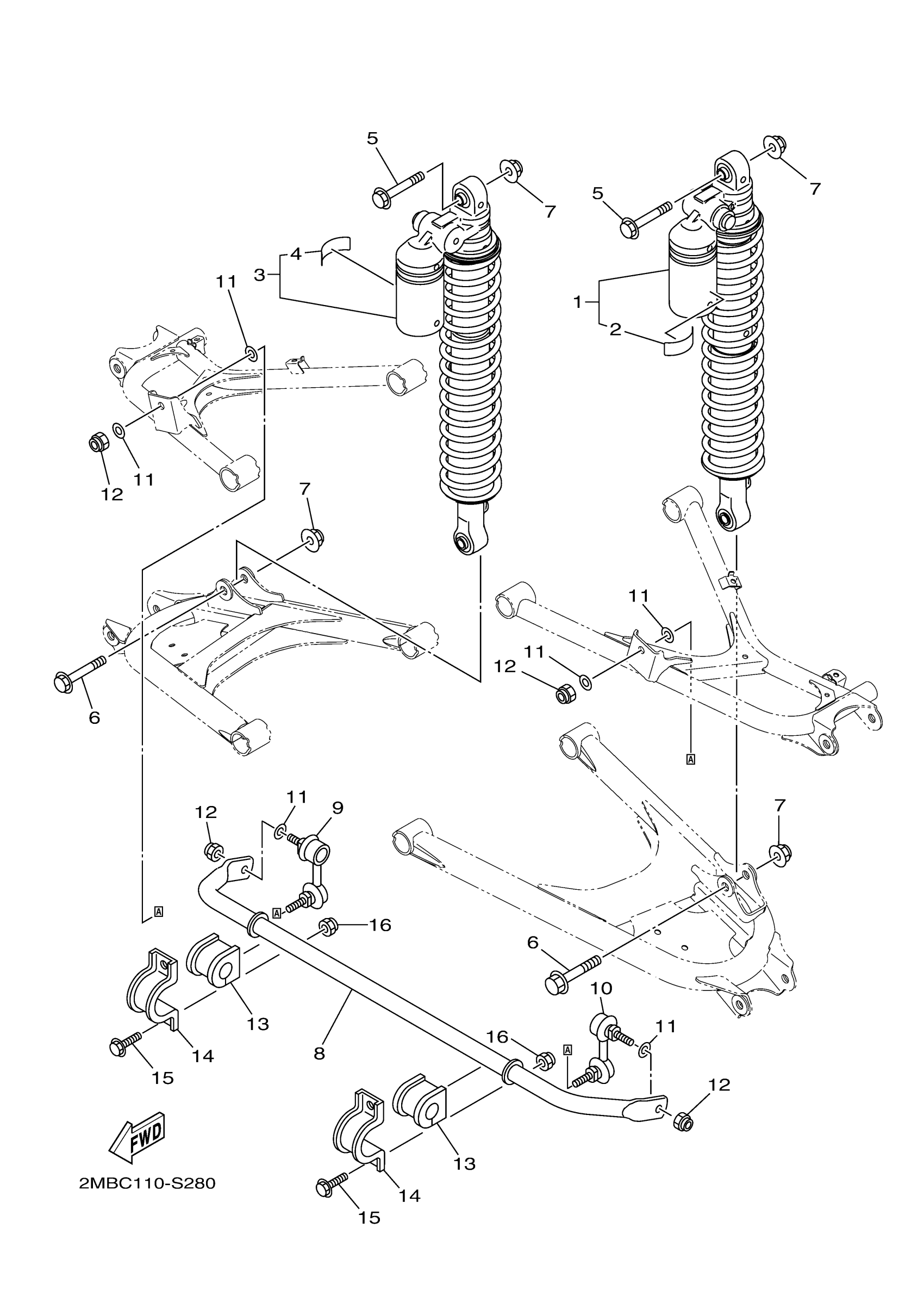
REAR SUSPENSION
Yamaha YXE70WPXHG (WOLVERINE R-SPEC EPS) 2MBC 2017 REAR SUSPENSION Diagram
#
Description
Price
8
BAR, STABILIZER
2MB-G7491-00-00
Unavailable
13
BUSH, STABILIZER F
1XD-F386G-00-00
Unavailable
16
NUT, SELF-LOCKING
90185-10011-00
Unavailable
