Yamaha YXE70WPXGL (WOLVERINE R-SPEC EPS) 2MB11 2016 GUARD 2 Diagram
#
Description
Price
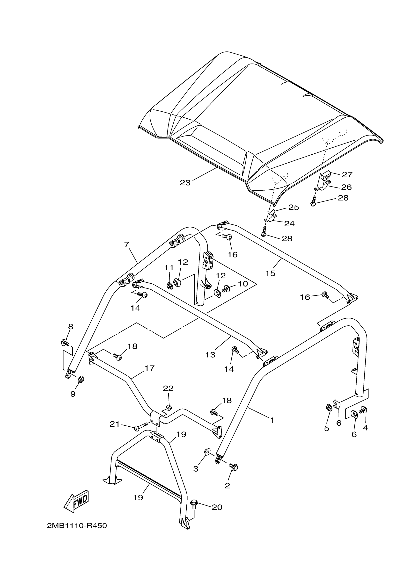
17
ROOF SUPPORT ASSY
2MB-K830A-00-00
Unavailable
19
ROOF SUPPORT ASSY 2
2MB-K830B-00-00
Unavailable
20
BOLT, FLANGE
95812-10016-00
Unavailable
21
BOLT, BUTTON HEAD
92012-10060-00
Unavailable
23
COVER, SUN ROOF
2MB-K8314-00-00
Unavailable
24
CLAMP, SUPPORT
5UG-K8366-00-00
Unavailable
25
DAMPER
5UG-K7588-01-00
Unavailable
26
CLAMP, SUPPORT
1XP-K8366-00-00
Unavailable
27
DAMPER
1XP-K7588-00-00
Unavailable
28
SCREW, TAPPING
90167-06800-00
Unavailable
