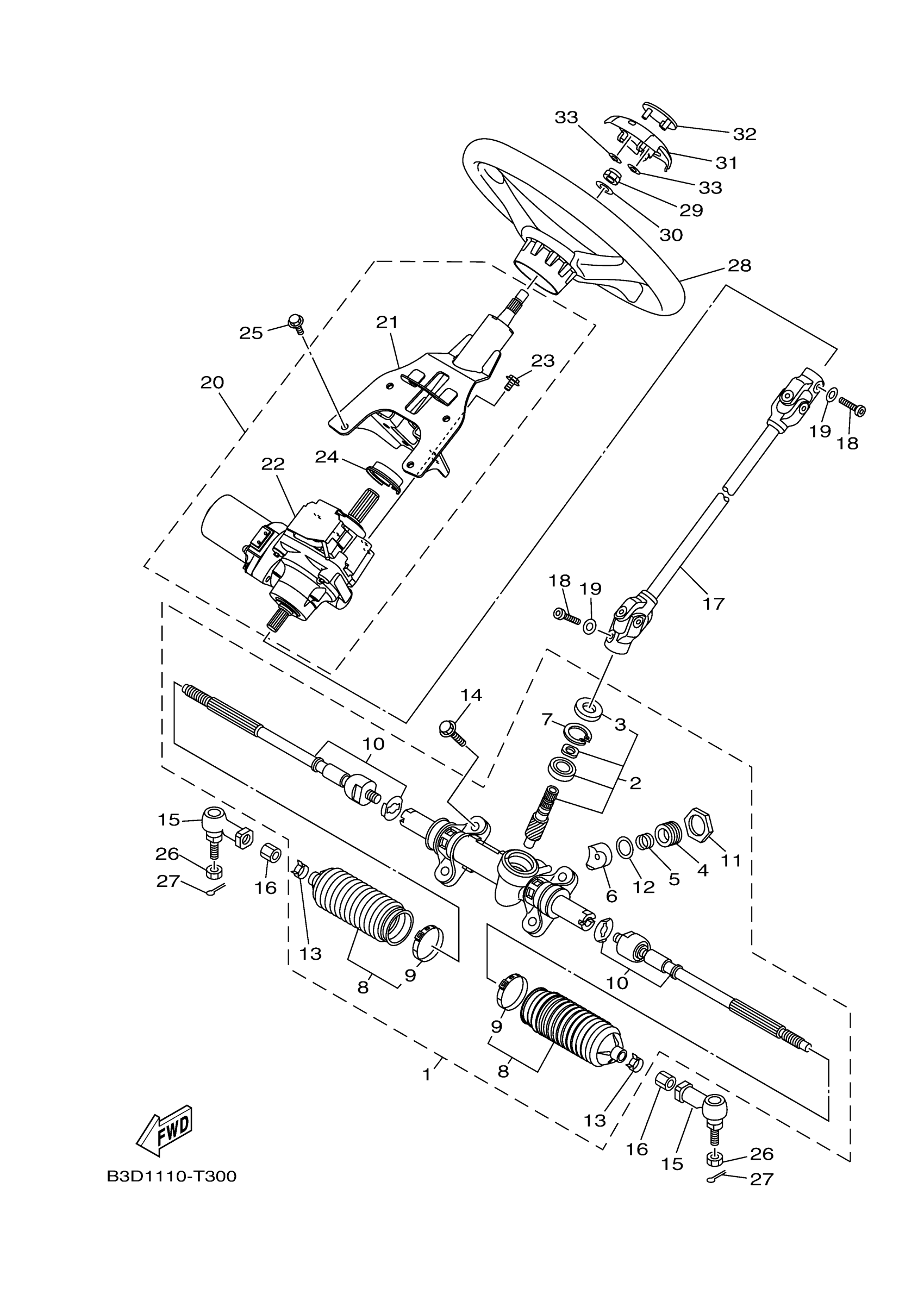
Yamaha YXE70WPHJH (WOLVERINE R-SPEC HUNTER) B3D4 2018 STEERING Diagram
#
Description
Price
1
STEERING ASSY
1XD-F3400-02-00
Unavailable
4
COVER,ADJUST
1XD-F387G-00-00
Unavailable
5
SPRING,PRESSURE
1XD-F387K-00-00
Unavailable
6
PAD,PRESSURE
1XD-F387F-00-00
Unavailable
7
RING,STOPPER
1XD-F387J-00-00
Unavailable
8
SEAL 1 W/ BAND SET OF 2
1XD-F1208-00-00
Unavailable
10
RACK END SET
1XD-F38H0-00-00
Unavailable
11
LOCK ASSY
1XD-F178K-00-00
Unavailable
16
NUT 1
2PG-F3833-00-00
Unavailable
17
STEERING SHAFT ASS
2MB-F3840-01-00
Unavailable
18
BOLT, SOCKET
91317-08025-00
Unavailable
19
WASHER, PLATE(3XP)
90201-083P5-00
Unavailable
20
STEERING COLUMN ASSY
B3D-23810-00-00
Unavailable
21
COLUMN, STEERING 2
B3D-23813-00-00
Unavailable
22
POWER STRG. ACTUATOR ASSY
2HC-238B0-03-00
Unavailable
23
BOLT, FLANGE
95812-08020-00
Unavailable
24
COVER, DUST
2MB-2384L-00-00
Unavailable
25
BOLT, FLANGE
95812-08020-00
Unavailable
26
NUT, CASTLE
90171-12001-00
Unavailable
27
PIN, COTTER
91490-20025-00
Unavailable
28
WHEEL,STEERING
2HC-F3838-02-00
Unavailable
29
NUT, SELF-LOCKING
90185-12008-00
Unavailable
30
YBS66-12 WASHER,PLAIN
92990-12200-00
Unavailable
31
COVER, STEERING
2HC-F3818-00-00
Unavailable
32
TUNING FORK MARK
1XD-F175B-01-00
Unavailable
33
NUT, SPRING
90183-06071-00
Unavailable
