- Partiron
- OEM Parts
- Yamaha
- side-by-side
- 2017
- YXE70WPBHG (WOLVERINE EPS) BW61 2017
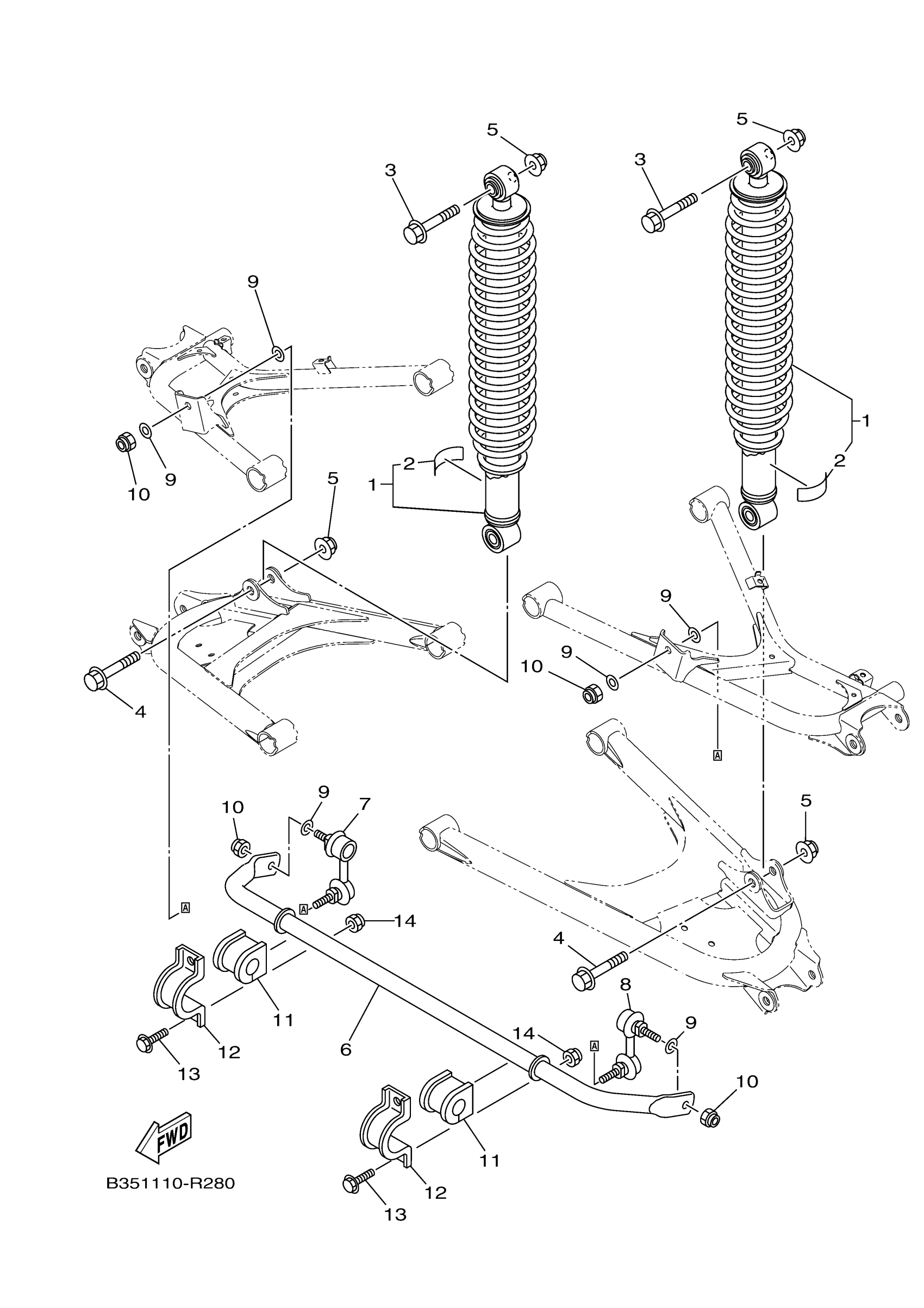
REAR SUSPENSION
Yamaha YXE70WPBHG (WOLVERINE EPS) BW61 2017 REAR SUSPENSION Diagram
#
Description
Price
6
BAR, STABILIZER
2MB-G7491-00-00
Unavailable
11
BUSH, STABILIZER F
1XD-F386G-00-00
Unavailable
