- Partiron
- OEM Parts
- Yamaha
- side-by-side
- 2018
- YXE70WPAJW (WOLVERINE R-SPEC EPS) B3D11 2018
REAR BRAKE CALIPER
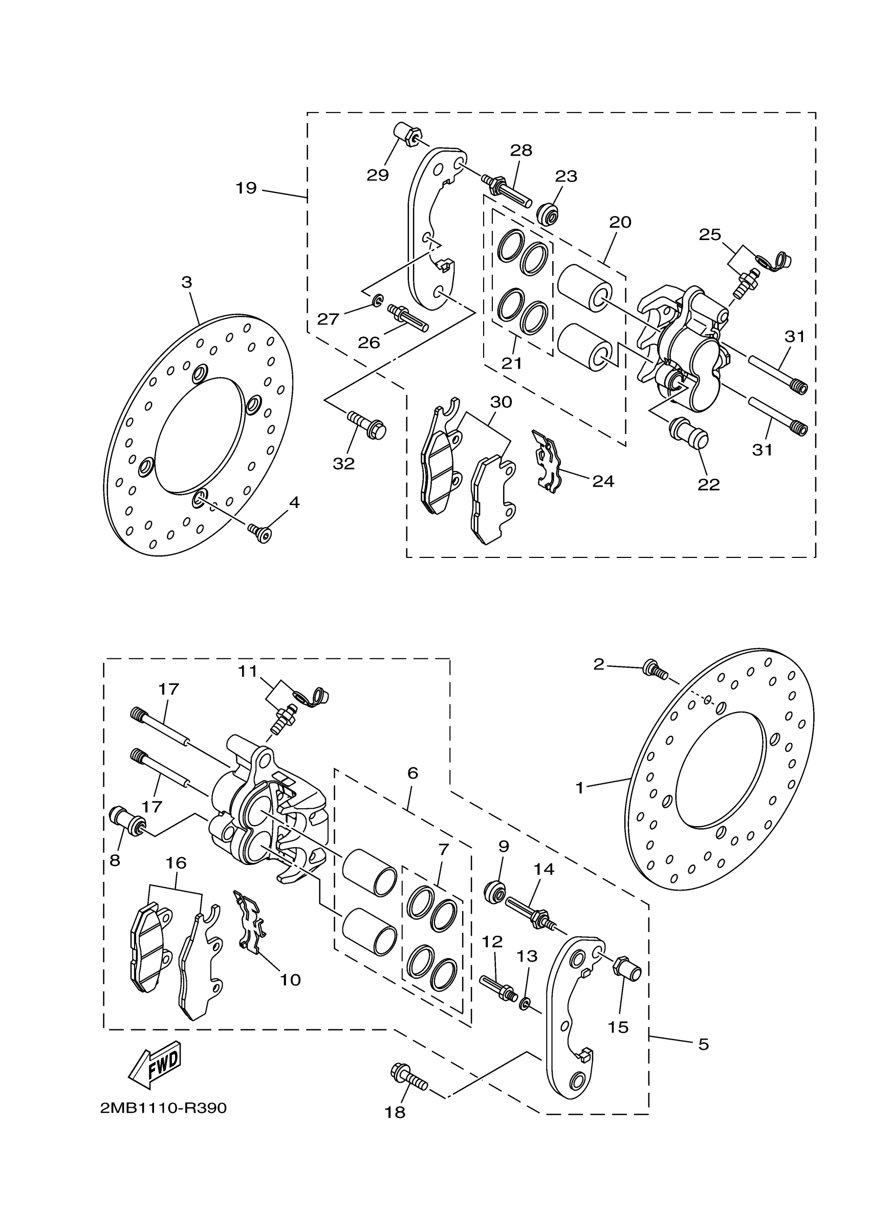
Yamaha YXE70WPAJW (WOLVERINE R-SPEC EPS) B3D11 2018 REAR BRAKE CALIPER Diagram
#
Description
Price
1
DISC, BRAKE (LEFT)
2MB-F582T-00-00
Unavailable
3
DISC, BRAKE (LEFT)
2MB-F582T-00-00
Unavailable
13
WASHER, SPRING
1UY-25938-51-00
Unavailable
16
BRAKE PAD KIT 2
1XD-25806-01-00
Unavailable
17
PIN, PAD
3FV-25924-00-00
Unavailable
18
BOLT, FLANGE
90105-10265-00
Unavailable
19
CALIPER ASSY, REAR
1XD-2580W-01-00
Unavailable
27
WASHER, SPRING
1UY-25938-51-00
Unavailable
30
BRAKE PAD KIT 2
1XD-25806-11-00
Unavailable
31
PIN, PAD
3FV-25924-00-00
Unavailable
32
BOLT, FLANGE
90105-10265-00
Unavailable
