- Partiron
- OEM Parts
- Yamaha
- side-by-side
- 2016
- YXE70WPAGW (WOLVRINE R-SPEC EPS) 2MBB 2016
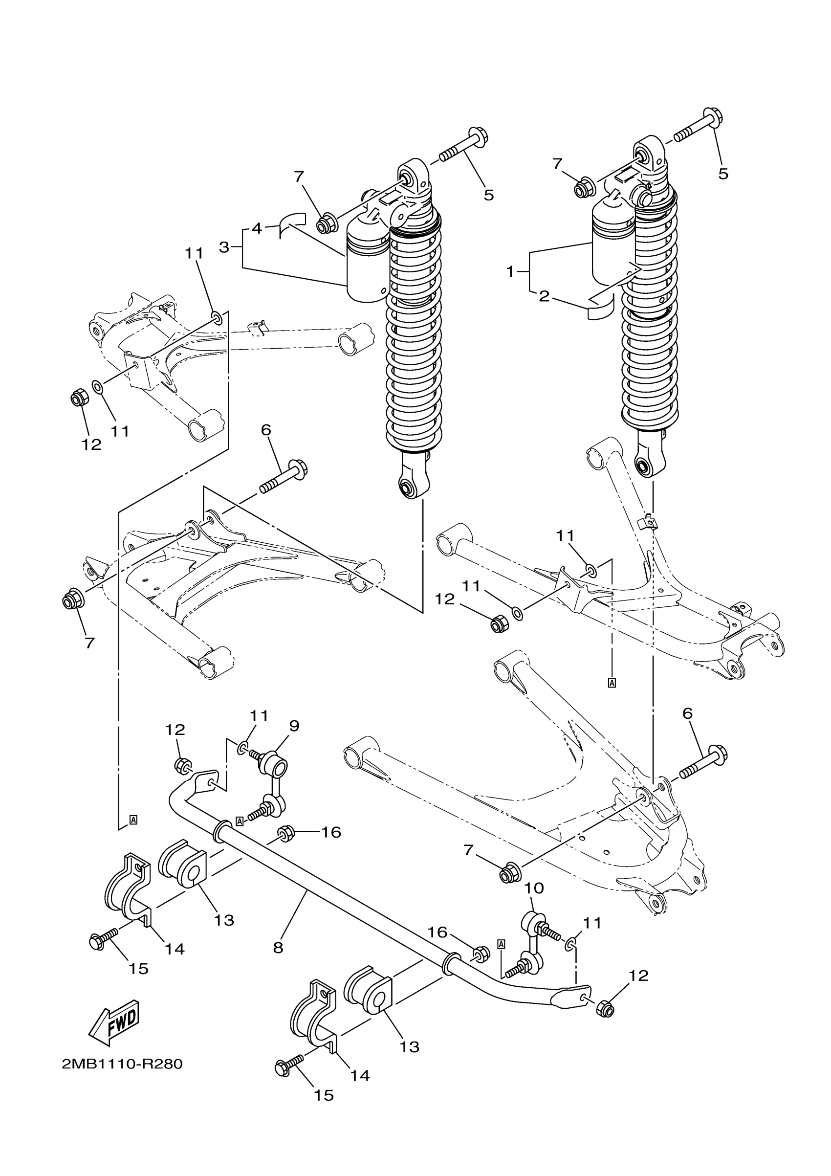
REAR SUSPENSION
Yamaha YXE70WPAGW (WOLVRINE R-SPEC EPS) 2MBB 2016 REAR SUSPENSION Diagram
#
Description
Price
8
BAR, STABILIZER
2MB-G7491-00-00
Unavailable
13
BUSH, STABILIZER F
1XD-F386G-00-00
Unavailable
16
NUT, SELF-LOCKING
90185-10011-00
Unavailable
