- Partiron
- OEM Parts
- Yamaha
- side-by-side
- 2016
- YXE70WDBGG (WOLVERINE) B351 2016
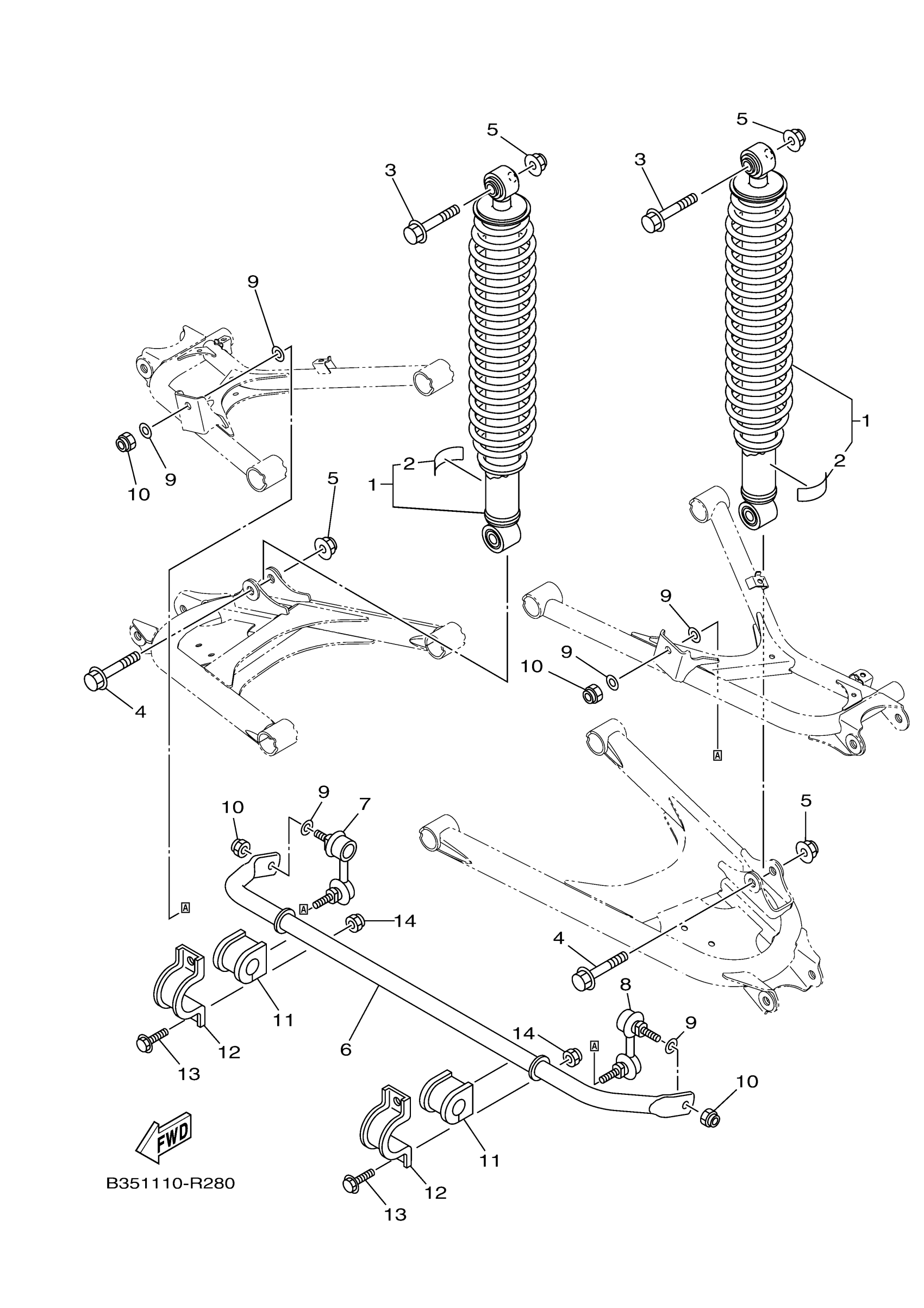
REAR SUSPENSION
Yamaha YXE70WDBGG (WOLVERINE) B351 2016 REAR SUSPENSION Diagram
#
Description
Price
6
BAR, STABILIZER
2MB-G7491-00-00
Unavailable
11
BUSH, STABILIZER F
1XD-F386G-00-00
Unavailable
